Качественные детали и логистика
Оригинальные и аналоговые запчасти с доставкой по России, Казахстану и Беларуси
©2022 PartSell ООО "Система" ИНН 2463123282 ОГРН 1212400004838
Центральный офис: г. Красноярск, Академика Киренского, д.87, пом.4
Телефон: 8 (800) 777-65-74 Email: zakaz@partsell.ru
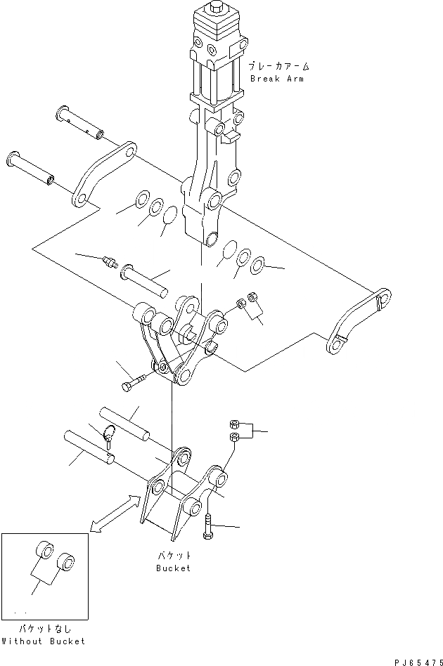
ПАЛЕЦ КОВША (ГИДРОМОЛОТ РУКОЯТЬ)
№
Артикул
Название
Примечание
Количество
1
20M-970-8721
PIN
|2
22J-970-1790
2
20M-970-8611
3
07020-00000
FITTING
4
01010-81070
BOLT
5
01580-11008
NUT
6
22J-70-16630
7
20D-14-11530
O-RING
8
20N-70-71180
SPACER
9
20N-70-11280
SPACER¤ 1.0MM
10
363-844-3140
11
20M-970-8480
GUARD
Выбрано товаров: 0