Запчасти Komatsu PC15T-2 ПЕРЕДН. LINER(№8-) ХОДОВАЯ

Схема запчастей Komatsu PC15T-2 - ПЕРЕДН. LINER(№8-) ХОДОВАЯ
FIT
1:1
100%

Артикул

Название

Примечание

Количество

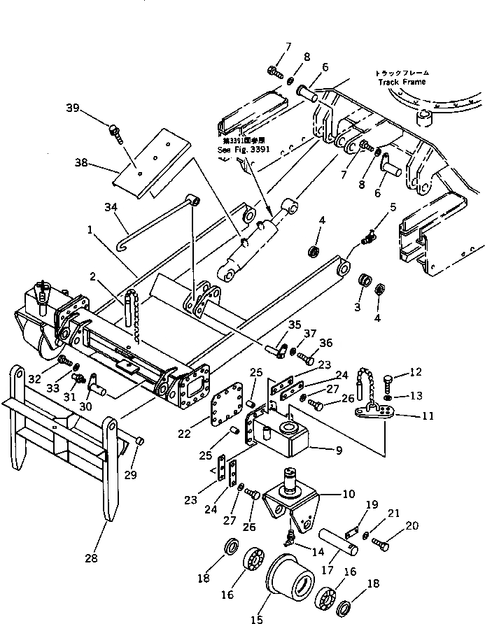
|1

20P-914-0011

ARM ASS'Y,FRONT

1

ARM,FRONT

2

20P-914-1240

PIN (WELDED)

3

07144-10304

BUSHING

4

07145-00035

SEAL,DUST

5

07020-00675

FITTING,GREASE

6

20N-70-44590

PIN

7

01010-51020

BOLT

8

01643-31032

WASHER

9

20P-914-1252

CASE

10

20P-914-1310

BRACKET

11

20P-914-1320

HANDLE

12

01010-51020

BOLT

13

01643-31032

WASHER

14

07020-00675

FITTING,GREASE

15

20T-914-4850

ROLLER

16

06000-06309

BEARING

17

20P-914-1350

PIN

18

130-817-4260

WASHER

19

04082-00212

LOCK

20

01010-51230

BOLT

21

01643-31232

WASHER

22

20P-914-1261

SPACER

23

20P-914-1271

SPACER¤ 5.0MM

24

20P-914-1291

PLATE

25

20P-914-1360

SPACER

26

20P-914-1370

BOLT

27

01643-31032

WASHER

|28

20P-914-0020

FORK ASS'Y

|28

20P-914-0030

FORK ASS'Y,LONG

28

FORK

|28

FORK,LONG

29

07143-10303

BUSHING

30

20P-914-1430

PIN

31

07020-00000

FITTING,GREASE

32

01010-51020

BOLT

33

01643-31032

WASHER

34

20P-914-1440

HOOK

35

20P-914-1450

PIN

36

01010-51020

BOLT

37

01643-31032

WASHER

38

20C-71-11310

COVER

39

01435-01016

BOLT

Выбрано товаров: 43