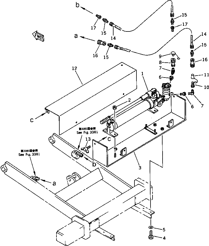
Запчасти Komatsu PC15T-2 ГИДРОЛИНИЯ (ЭКСТРЕНН. НАСОС)(№8-) ХОДОВАЯ

Схема запчастей Komatsu PC15T-2 - ГИДРОЛИНИЯ (ЭКСТРЕНН. НАСОС)(№8-) ХОДОВАЯ
FIT
1:1
100%

Артикул

Название

Примечание

Количество

1

20T-914-4711

PUMP

2

01580-10605

NUT

3

20P-914-1551

BRACKET

4

01010-51025

BOLT

5

01643-31032

WASHER

6

07326-10302

ADAPTER

7

20D-68-11670

ELBOW

8

201-62-27750

COUPLING

9

201-62-27770

PLUG

10

201-62-27760

COUPLING

11

201-62-27780

CAP

12

20T-914-4581

COVER

13

20P-914-1570

BOLT,WING

14

07108-20205

HOSE,(FOR EMERGENCY)

15

FF7820-91610

NIPPLE,(FOR EMERGENCY)

16

201-62-27750

COUPLING,(FOR EMERGENCY)

17

201-62-27760

COUPLING,(FOR EMERGENCY)

Выбрано товаров: 17