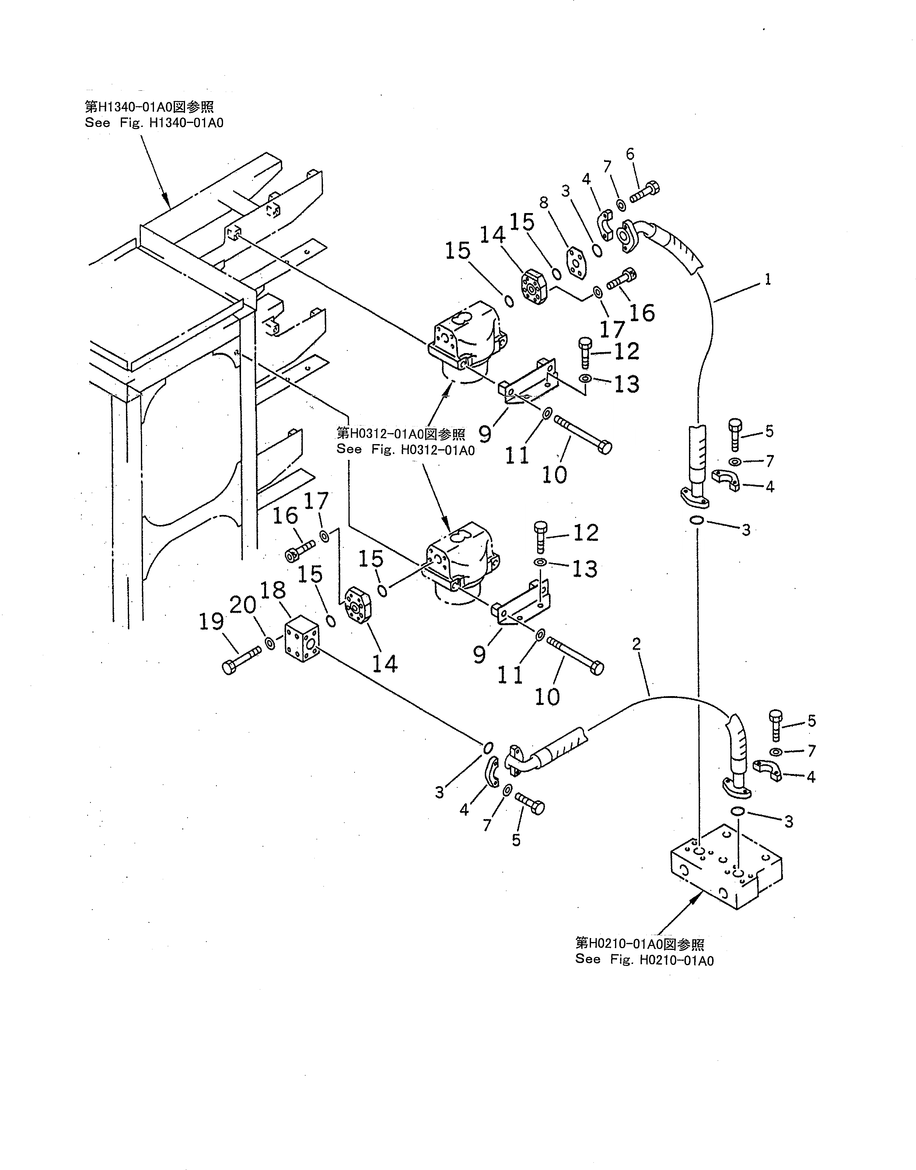
Запчасти Komatsu PC1600-1-A БЛОК - ФИЛЬТР ТРУБЫ(№-) ГИДРАВЛИКА

Схема запчастей Komatsu PC1600-1-A - БЛОК - ФИЛЬТР ТРУБЫ(№-) ГИДРАВЛИКА
FIT
1:1
100%

Артикул

Название

Примечание

Количество

1

07097-01416

HOSE

2

07098-01415

HOSE

3

21T-09-11510

O-RING

4

07371-51470

FLANGE

5

01010-51455

BOLT

6

01010-51465

BOLT

7

01643-31445

WASHER

8

209-62-51310

COVER

9

21T-62-71280

BRACKET

10

11T-61-14720

BOLT

11

01643-31645

WASHER

12

01010-51235

BOLT

13

01643-31232

WASHER

14

209-62-51290

BLOCK

15

21T-09-11480

O-RING

16

01252-31240

BOLT

17

01643-51232

WASHER

18

21T-62-71170

BLOCK

19

01011-51200

BOLT

20

01643-31232

WASHER

Выбрано товаров: 20