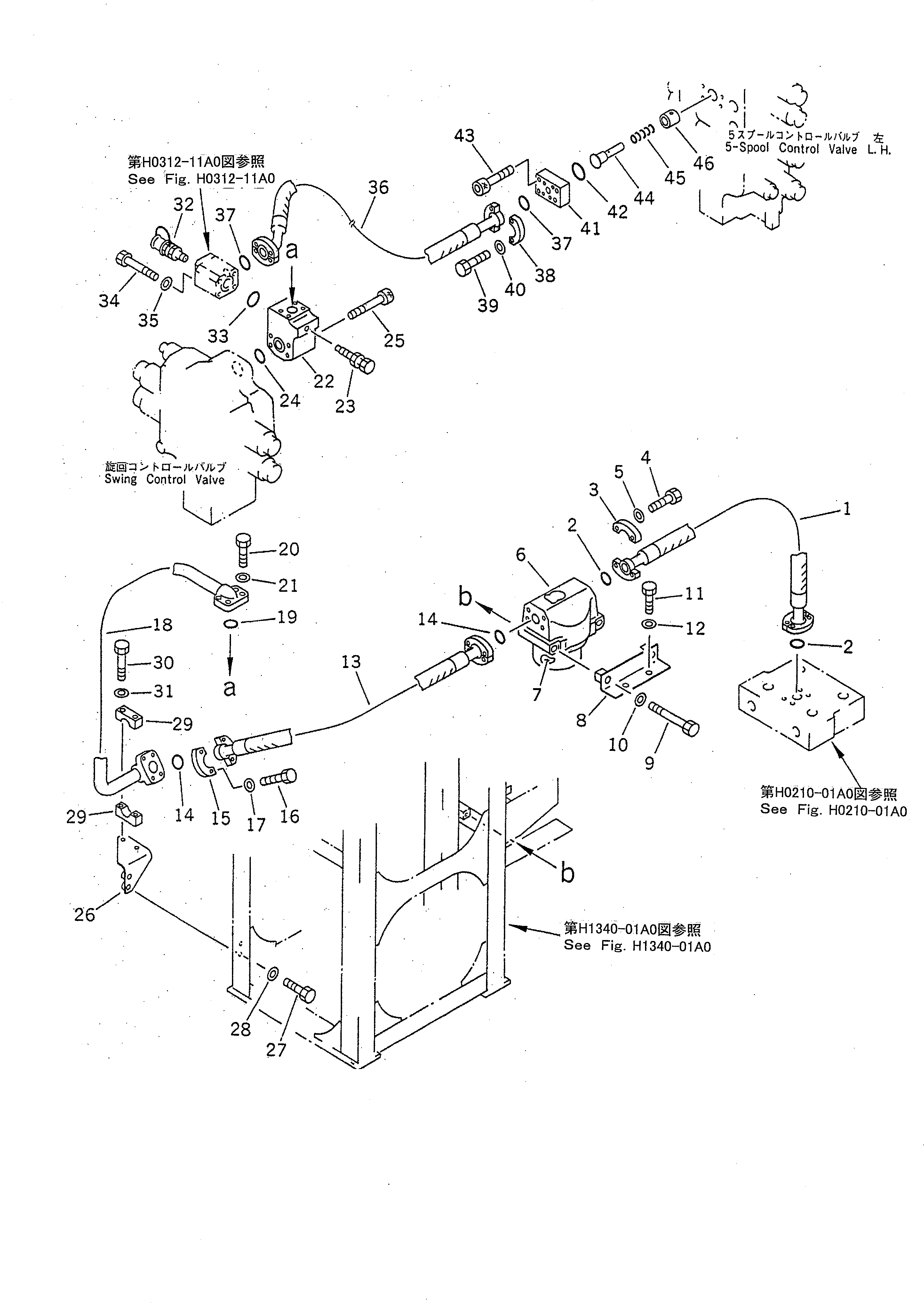
Запчасти Komatsu PC1600-1-A БЛОК - ПОВОРОТН. УПРАВЛЯЮЩ. КЛАПАН ТРУБЫ¤ ПЕРЕДН.(№-) ГИДРАВЛИКА

Схема запчастей Komatsu PC1600-1-A - БЛОК - ПОВОРОТН. УПРАВЛЯЮЩ. КЛАПАН ТРУБЫ¤ ПЕРЕДН.(№-) ГИДРАВЛИКА
FIT
1:1
100%

Артикул

Название

Примечание

Количество

1

07099-01210

HOSE

2

21T-09-11480

O-RING

3

07371-51260

FLANGE

4

01010-51245

BOLT

5

01643-31232

WASHER

6

21T-60-72500

FILTER

7

21T-60-72510

ELEMENT

8

21T-62-71280

BRACKET

9

11T-61-14720

BOLT

10

01643-31645

WASHER

11

01010-51235

BOLT

12

01643-31232

WASHER

13

07099-01209

HOSE

14

21T-09-11480

O-RING

15

07371-51260

FLANGE

16

01010-51245

BOLT

17

01643-31232

WASHER

18

21T-62-79350

TUBE

19

21T-09-11480

O-RING

20

01010-51245

BOLT

21

01643-31232

WASHER

|22

21T-62-79300

VALVE ASS'Y

22

21T-62-79311

BLOCK

23

198-30-14420

PLUG

24

21T-09-11510

O-RING

25

01253-41410

BOLT

26

21T-62-71330

BRACKET

27

01010-51235

BOLT

28

01643-31232

WASHER

29

205-62-54460

CLAMP

30

01010-51280

BOLT

31

01643-31232

WASHER

32

21T-62-23880

NIPPLE

33

21T-09-11510

O-RING

34

01011-51435

BOLT

35

01643-31445

WASHER

36

07097-00610

HOSE

37

07000-13025

O-RING

38

07371-30640

FLANGE,SPLIT

39

07372-21035

BOLT

40

01643-51032

WASHER

41

21T-62-79340

FLANGE

42

07000-13048

O-RING

43

01252-41235

BOLT

44

709-14-11610

SEAT

45

709-14-11590

SPRING

46

709-14-11581

VALVE

Выбрано товаров: 47