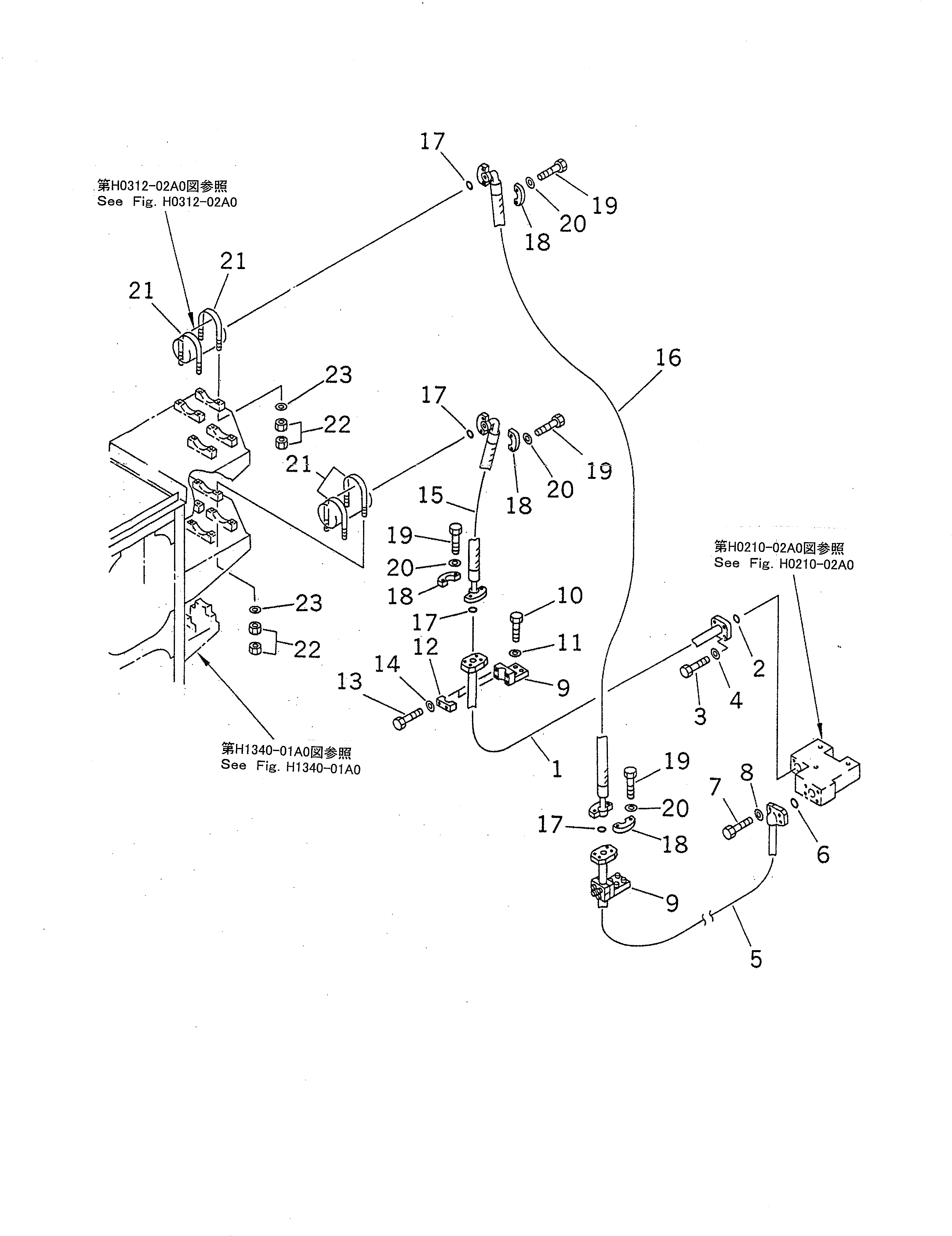
Запчасти Komatsu PC1600-1-A БЛОК - ФИЛЬТР ТРУБЫ(№-) ГИДРАВЛИКА

Схема запчастей Komatsu PC1600-1-A - БЛОК - ФИЛЬТР ТРУБЫ(№-) ГИДРАВЛИКА
FIT
1:1
100%

Артикул

Название

Примечание

Количество

1

21T-62-71151

TUBE

2

07000-B3408

O-RING

|2

21T-09-11510

O-RING

3

01010-81455

BOLT

4

01643-31445

WASHER

5

21T-62-71141

TUBE

6

21T-09-11510

O-RING

7

01010-81445

BOLT

8

01643-31445

WASHER

9

21T-62-82190

CLAMP

10

01010-81250

BOLT

11

175-54-34170

WASHER

12

176-61-41330

CLAMP

13

01010-81250

BOLT

14

01643-31232

WASHER

15

07098-01409

HOSE

16

07098-01414

HOSE

17

07000-B3048

O-RING

|17

21T-09-11510

O-RING

18

07371-51470

FLANGE

19

01010-81455

BOLT

20

01643-31445

WASHER

21

209-62-61161

BAND

22

01580-11613

NUT

23

01643-31645

WASHER

Выбрано товаров: 25