Запчасти Komatsu PC1600-1-A ЦИЛИНДР СТРЕЛЫТРУБЫ (/) ГИДРАВЛИКА

Схема запчастей Komatsu PC1600-1-A - ЦИЛИНДР СТРЕЛЫТРУБЫ (/) ГИДРАВЛИКА
FIT
1:1
100%

Артикул

Название

Примечание

Количество

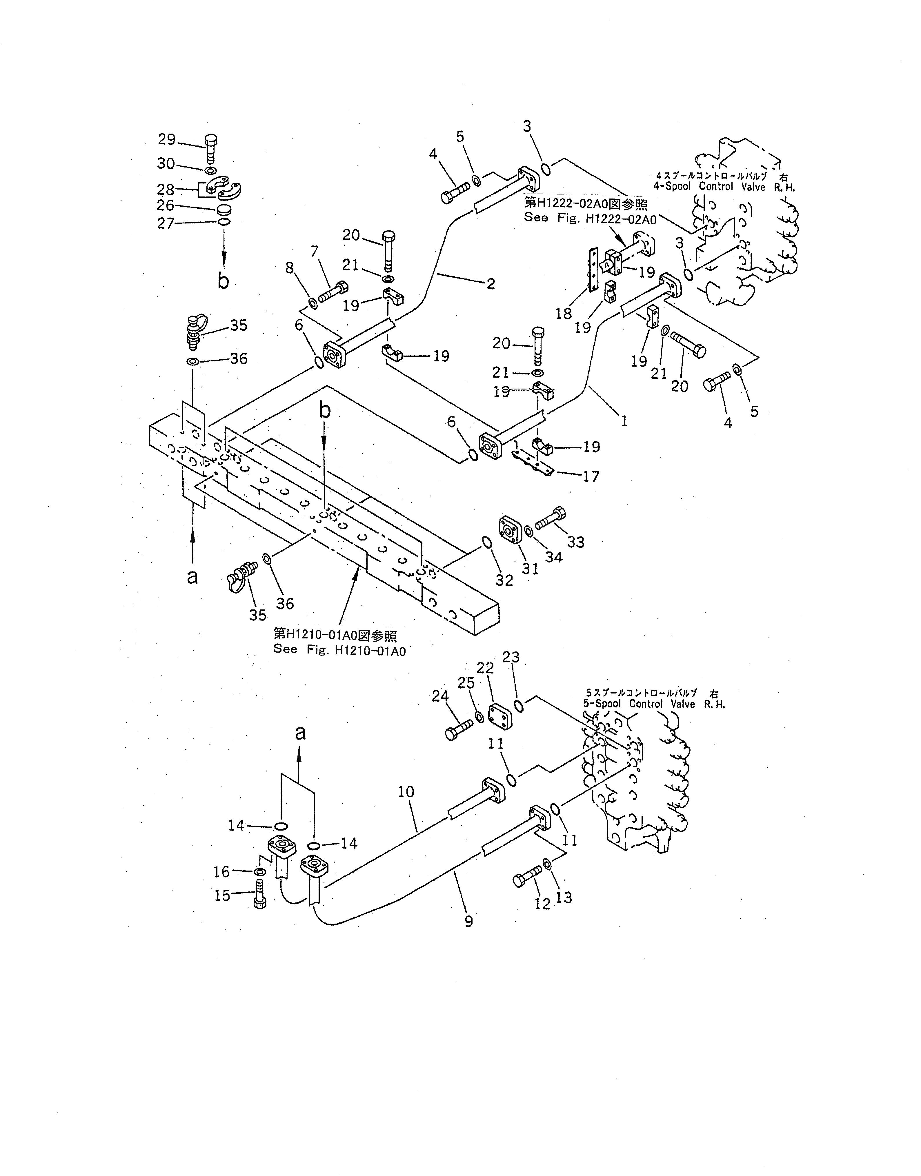
1

21T-919-1960

TUBE,R.H.

|1

21T-62-72320

TUBE,R.H.

2

21T-919-1950

TUBE

|2

21T-62-72310

TUBE

3

21T-09-11510

O-RING

4

01010-81455

BOLT

5

01643-31445

WASHER

6

07000-13048

O-RING

7

01010-81455

BOLT

8

01643-31445

WASHER

9

21T-919-2210

TUBE,R.H.

|9

21T-62-72370

TUBE,R.H.

10

21T-919-2960

TUBE

|10

21T-62-72530

TUBE

11

21T-09-11510

O-RING

12

01010-81455

BOLT

13

01643-31445

WASHER

14

07000-13048

O-RING

15

01010-81455

BOLT

16

01643-31445

WASHER

17

21T-62-72830

BRACKET

18

21T-62-74790

BRACKET

19

176-61-41330

CLAMP

20

01010-81290

BOLT

21

01643-31232

WASHER

G-1

21T-62-X2400

PIPING GROUP

22

209-62-52220

PLATE

23

21T-09-11510

O-RING

24

01010-81455

BOLT

25

01643-31445

WASHER

26

07378-11410

HEAD

27

07000-13048

O-RING

28

07371-51470

FLANGE,SPLIT

29

01010-81455

BOLT

30

01643-31445

WASHER

31

209-62-52220

PLATE

32

21T-09-11510

O-RING

33

01010-81455

BOLT

34

01643-31445

WASHER

35

720-68-15910

NIPPLE

36

720-68-15260

SEAL

Выбрано товаров: 41