Качественные детали и логистика
Оригинальные и аналоговые запчасти с доставкой по России, Казахстану и Беларуси
©2022 PartSell ООО "Система" ИНН 2463123282 ОГРН 1212400004838
Центральный офис: г. Красноярск, Академика Киренского, д.87, пом.4
Телефон: 8 (800) 777-65-74 Email: zakaz@partsell.ru
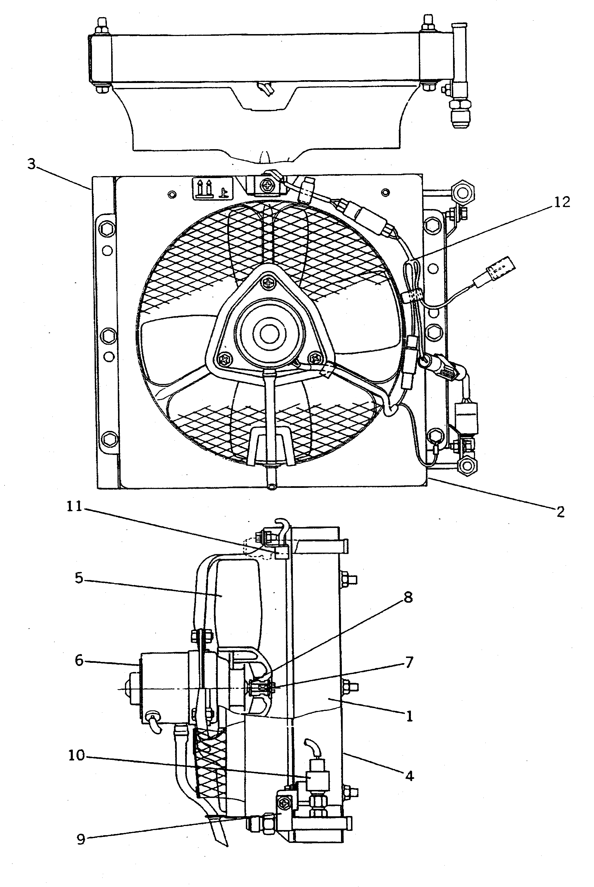
КОНДЕНСАТОР БЛОК (С КОНДИЦИОНЕРОМ)(№-8)
№
Артикул
Название
Примечание
Количество
G-1
21T-979-X200
AIR CONDITIONER G.,(HIGH CAB)
|1
205-979-6150
CONDENSER ASS'Y
1
205-979-7550
CORE
2
205-979-7560
SHROUD
3
205-979-7570
BRACKET
4
205-979-7580
5
205-979-7590
FAN
6
205-979-7600
MOTOR ASS'Y
7
205-979-7610
NUT
8
205-979-7620
WASHER
9
205-979-7630
CLAMP
10
205-979-7640
SWITCH
11
205-979-7650
RESISTOR
12
205-979-7660
HARNESS ASS'Y
Выбрано товаров: 0