Запчасти Komatsu PC1600-1-A РАСПРЕДЕЛИТЕЛЬ. (С КОНДИЦИОНЕРОМ) КАБИНА ОПЕРАТОРА И СИСТЕМА УПРАВЛЕНИЯ

Схема запчастей Komatsu PC1600-1-A - РАСПРЕДЕЛИТЕЛЬ. (С КОНДИЦИОНЕРОМ) КАБИНА ОПЕРАТОРА И СИСТЕМА УПРАВЛЕНИЯ
FIT
1:1
100%

Артикул

Название

Примечание

Количество

G-1

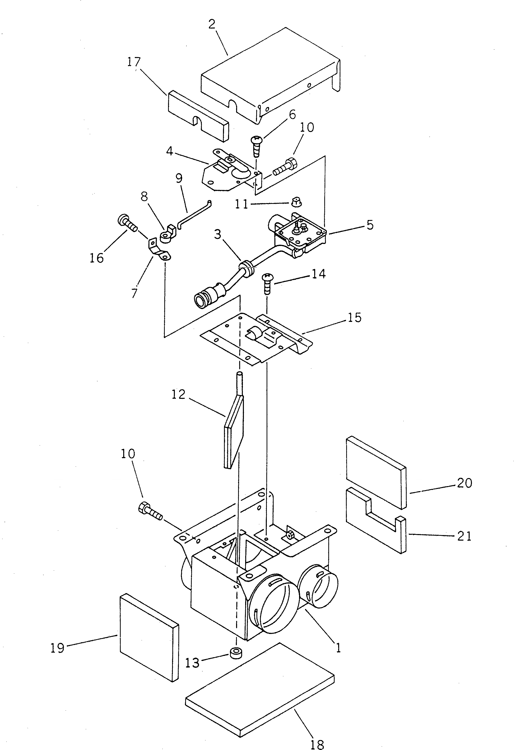
21T-979-X200

AIR CONDITIONER G.,(HIGH CAB)

|1

21T-979-7670

DISTRIBUTOR ASS'Y

|1

195-Z11-5400

DISTRIBUTOR ASS'Y

1

195-Z11-6490

CASE

2

195-Z11-6520

PROTECTOR

3

195-Z11-7150

GROMMET

4

195-Z11-6530

LINK

5

195-Z11-7140

ACTUATOR ASS'Y

6

01370-00412

SCREW

7

195-Z11-6540

LEVER

8

195-Z11-6640

BUSHING

9

195-Z11-6560

SHAFT

10

01010-80812

BOLT

11

195-Z11-6280

BUSHING

12

195-Z11-6550

DAMPER

13

195-Z11-6570

INSERT

14

01220-40512

SCREW

15

195-Z11-6510

PLATE

16

01220-40616

SCREW

17

21T-979-7680

SEAT

18

21T-979-7690

SEAT

19

21T-979-7710

SEAT

20

21T-979-7720

SEAT

21

21T-979-7730

SEAT

Выбрано товаров: 24