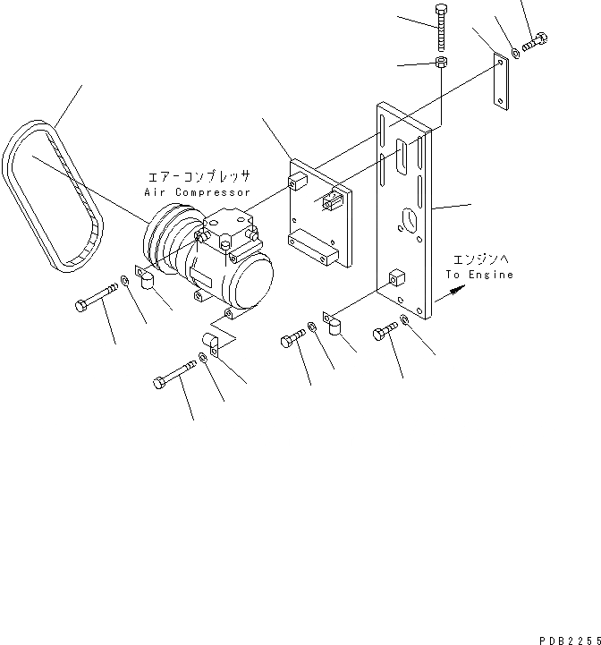
Запчасти Komatsu PC1600-1-A КОНДИЦ. ВОЗДУХА (КОМПРЕССОР КОМПОНЕНТЫ)(№.-8) КАБИНА ОПЕРАТОРА И СИСТЕМА УПРАВЛЕНИЯ

Схема запчастей Komatsu PC1600-1-A - КОНДИЦ. ВОЗДУХА (КОМПРЕССОР КОМПОНЕНТЫ)(№.-8) КАБИНА ОПЕРАТОРА И СИСТЕМА УПРАВЛЕНИЯ
1
2
3
4
5
6
6
7
8
8
8
9
10
11
12
13
14
15
16
FIT
1:1
100%

Артикул

Название

Примечание

Количество

G-1

21T-979-X200

AIR CONDITIONER G.,F/COMPRESSOR

1

04120-21735

V-BELT

2

01016-51090

BOLT

3

01580-11008

NUT

4

209-979-6520

BRACKET

5

21N-979-1240

PLATE

6

01010-50885

BOLT

7

01010-50840

BOLT

8

01643-30823

WASHER

9

08036-10814

CLIP

10

08053-01510

CLIP

11

209-979-6112

BRACKET

12

01010-51035

BOLT

13

01643-31032

WASHER

14

01010-51020

BOLT

15

01643-31032

WASHER

16

112-946-4170

CLIP

Выбрано товаров: 0