Запчасти Komatsu PC1600-1-A ОСНОВН. КОНСТРУКЦИЯ¤ ЛЕВ. КАБИНА ОПЕРАТОРА И СИСТЕМА УПРАВЛЕНИЯ

Схема запчастей Komatsu PC1600-1-A - ОСНОВН. КОНСТРУКЦИЯ¤ ЛЕВ. КАБИНА ОПЕРАТОРА И СИСТЕМА УПРАВЛЕНИЯ
FIT
1:1
100%

Артикул

Название

Примечание

Количество

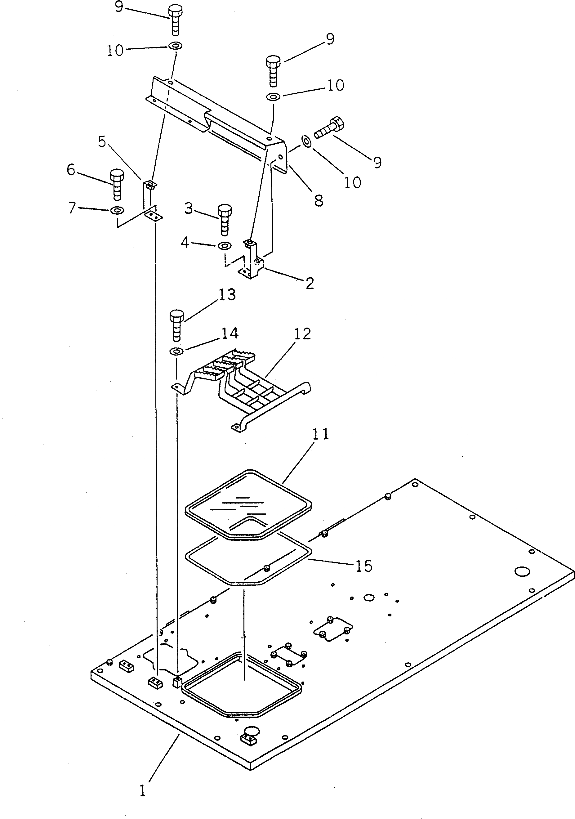
1

21T-919-2310

FRAME,FLOOR¤ L.H.

2

21T-54-71860

BRACKET,L.H.

3

01010-81225

BOLT

4

01643-31232

WASHER

5

21T-54-71880

BRACKET,L.H.

6

01010-81225

BOLT

7

01643-31232

WASHER

8

21T-54-71711

COVER,L.H.

9

195-54-43210

BOLT

10

198-54-42280

WASHER

11

21T-54-71830

SASH

12

21T-54-71841

BRACKET

13

195-54-43210

BOLT

14

198-54-42280

WASHER

15

21T-00-71210

TAPE

Выбрано товаров: 15