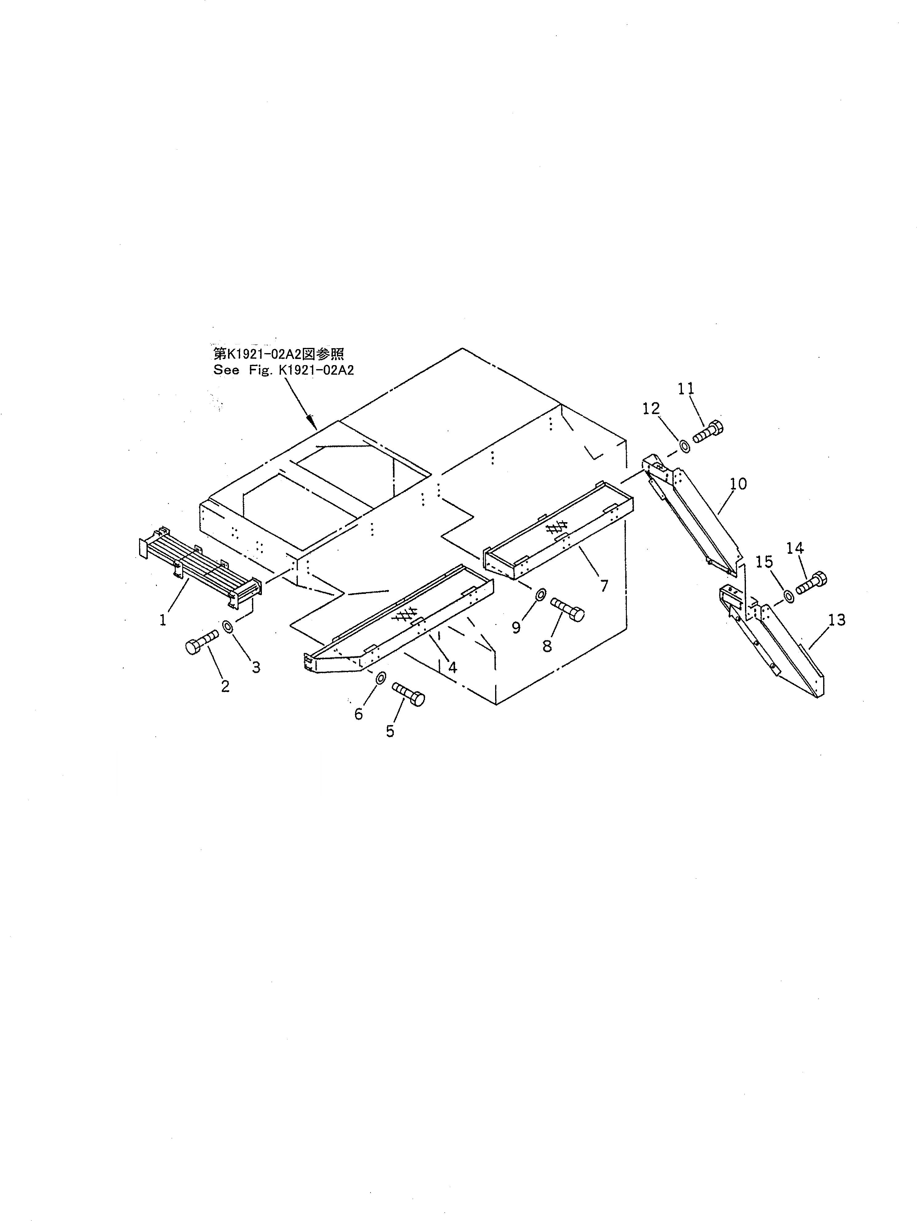
Запчасти Komatsu PC1600-1-A РАМА И ЛЕСТНИЦА (ДЛЯ SUPER ВЫС. КАБИНА)(№-) КАБИНА ОПЕРАТОРА И СИСТЕМА УПРАВЛЕНИЯ

Схема запчастей Komatsu PC1600-1-A - РАМА И ЛЕСТНИЦА (ДЛЯ SUPER ВЫС. КАБИНА)(№-) КАБИНА ОПЕРАТОРА И СИСТЕМА УПРАВЛЕНИЯ
FIT
1:1
100%

Артикул

Название

Примечание

Количество

1

21T-919-2780

FRAME

2

01010-81235

BOLT

3

175-54-34170

WASHER

4

21T-54-77190

FRAME

5

01010-81235

BOLT

6

175-54-34170

WASHER

7

21T-919-2810

FRAME

8

01010-81235

BOLT

9

175-54-34170

WASHER

10

21T-919-2830

LADDER

11

01010-81230

BOLT

12

175-54-34170

WASHER

13

21T-54-75131

LADDER

14

01010-81235

BOLT

15

175-54-34170

WASHER

Выбрано товаров: 15