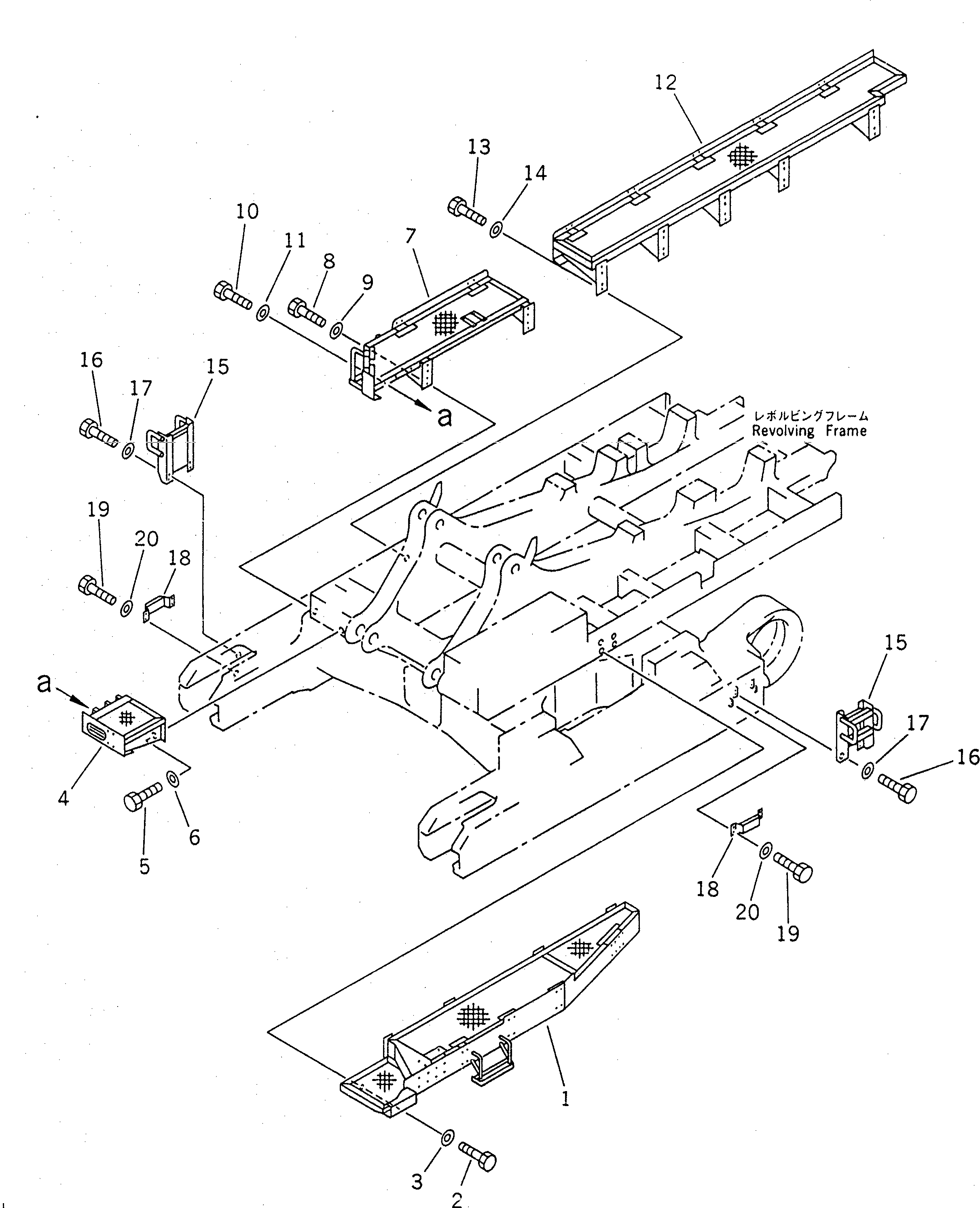
Запчасти Komatsu PC1600-1-A БОКОВ. СТУПЕНЬКА (ДЛЯ OSAKA BAY)(№-) ЧАСТИ КОРПУСА

Схема запчастей Komatsu PC1600-1-A - БОКОВ. СТУПЕНЬКА (ДЛЯ OSAKA BAY)(№-) ЧАСТИ КОРПУСА
FIT
1:1
100%

Артикул

Название

Примечание

Количество

G-1

21T-919-X310

FRAME GROUP

1

21T-54-77480

FRAME

2

01010-51230

BOLT

3

175-54-34170

WASHER

4

21T-919-4360

FRAME

5

01010-51230

BOLT

6

175-54-34170

WASHER

7

21T-919-4330

FRAME

8

01010-51230

BOLT

9

175-54-34170

WASHER

10

01010-51230

BOLT

11

175-54-34170

WASHER

12

21T-919-4340

FRAME

13

01010-51230

BOLT

14

175-54-34170

WASHER

15

21T-919-5380

LADDER

16

01010-51645

BOLT

17

01643-31645

WASHER

18

21T-919-5390

STEP

19

01010-51645

BOLT

20

01643-31645

WASHER

Выбрано товаров: 21