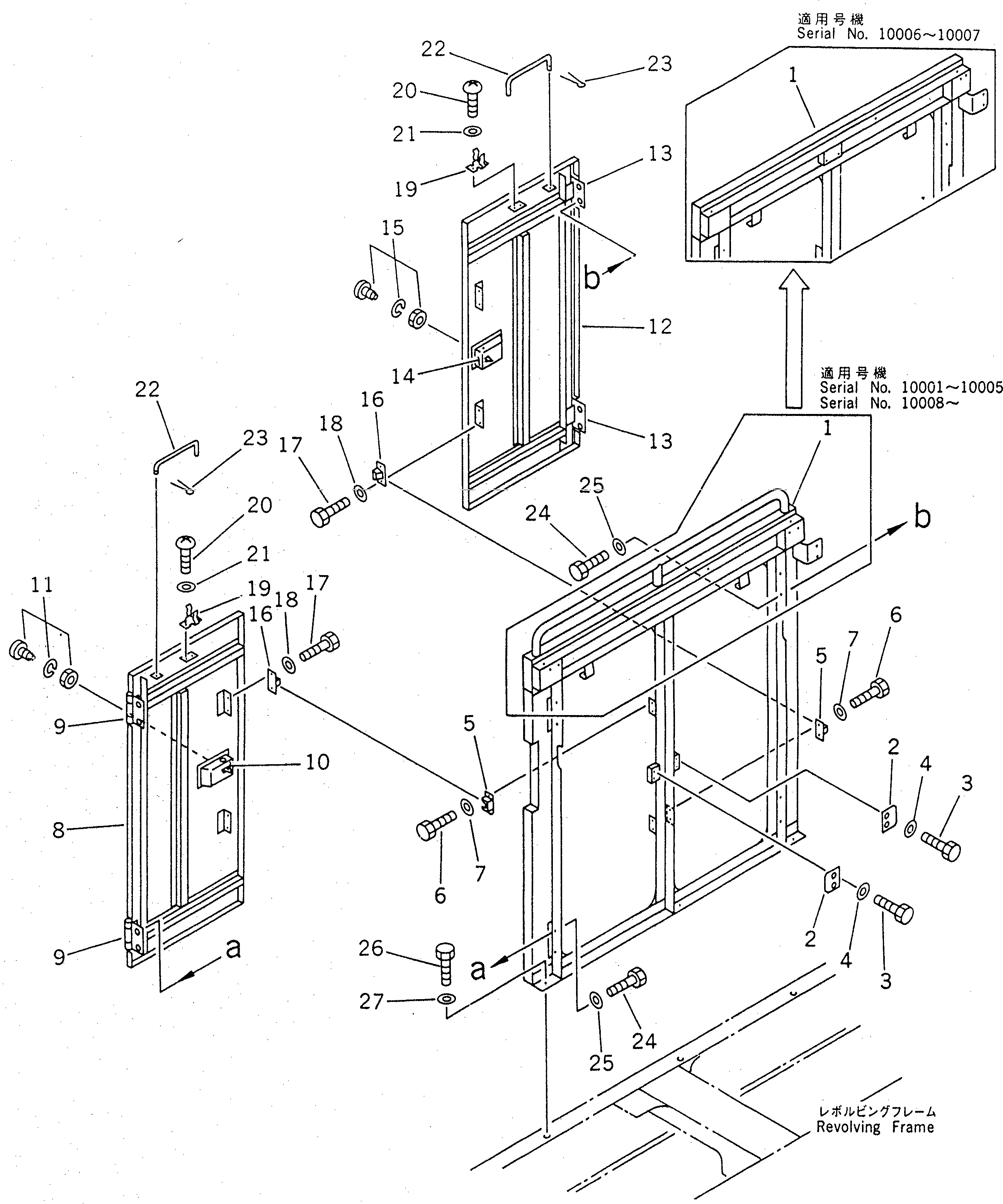
Запчасти Komatsu PC1600-1-A ПРАВ. КРЫШКА(РАМА И ДВЕРЬ) ЧАСТИ КОРПУСА

Схема запчастей Komatsu PC1600-1-A - ПРАВ. КРЫШКА(РАМА И ДВЕРЬ) ЧАСТИ КОРПУСА
FIT
1:1
100%

Артикул

Название

Примечание

Количество

1

21T-919-5340

FRAME

|1

21T-919-5341

FRAME

|1

21T-919-5340

FRAME

2

21T-919-5350

PLATE

3

01010-81025

BOLT

4

01643-31032

WASHER

5

205-54-51970

DOVE TAIL

6

01010-80616

BOLT

7

01643-30623

WASHER

8

21T-919-5330

DOOR,R.H.

9

21T-54-73190

HINGE (WELDED)

10

421-54-11372

LOCK ASS'Y (WELDED)

11

421-54-11381

LOCK

12

21T-919-5320

DOOR,L.H.

13

21T-54-73190

HINGE (WELDED)

14

421-54-11362

LOCK ASS'Y (WELDED)

15

421-54-11381

LOCK

16

205-54-53550

DOVE TAIL

17

01010-80616

BOLT

18

01643-30623

WASHER

19

20B-54-12210

SPRING

20

01220-40408

SCREW

21

01641-20405

WASHER

22

21T-919-5360

BAR

23

04050-13018

PIN,COTTER

24

01010-81230

BOLT

25

01643-31232

WASHER

26

01010-81230

BOLT

27

01643-31232

WASHER

Выбрано товаров: 29