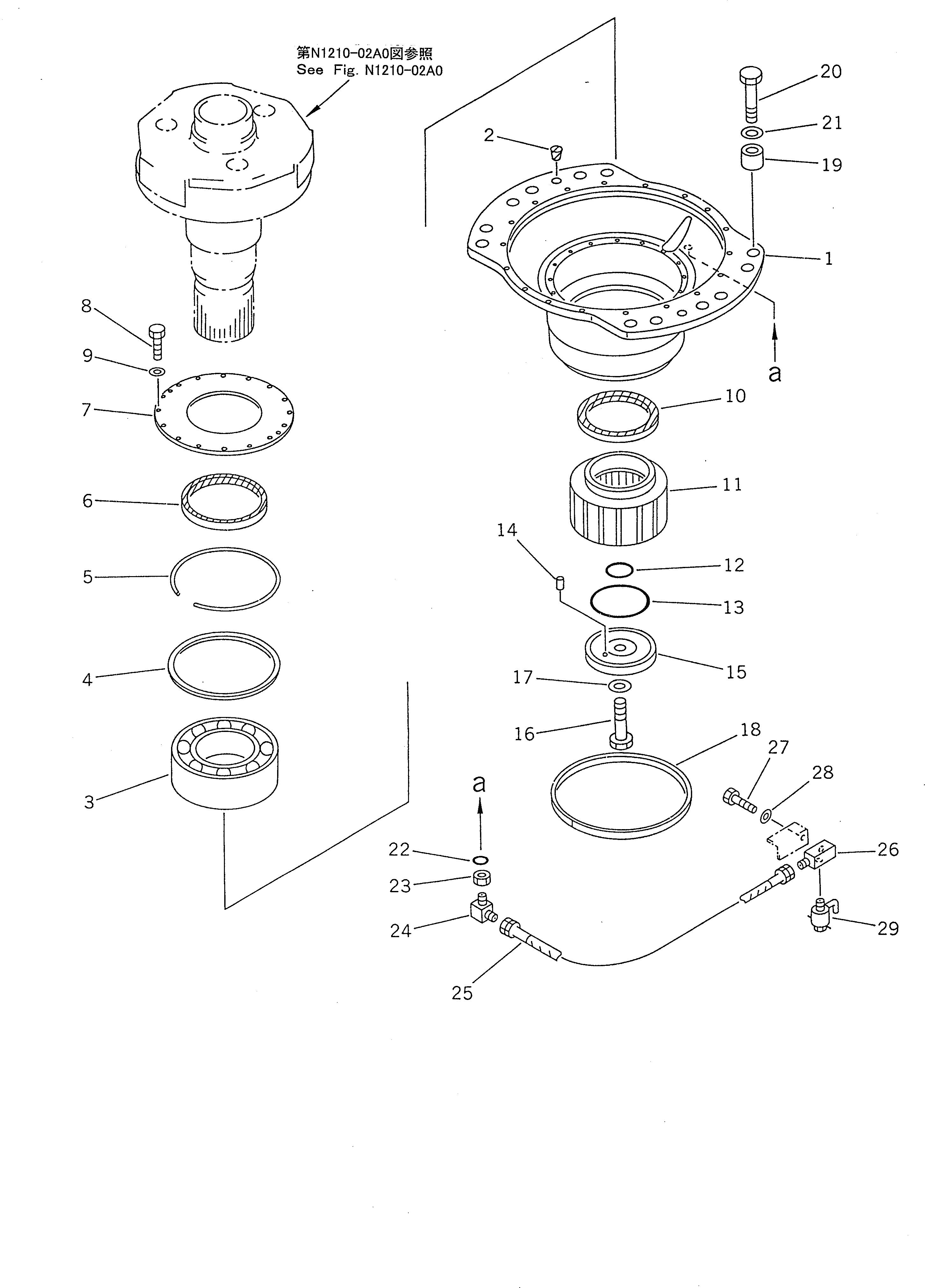
Запчасти Komatsu PC1600-1-A МЕХАНИЗМ ПОВОРОТА¤ ПЕРЕДН. (/)(№-) ПОВОРОТН. КРУГ И КОМПОНЕНТЫ

Схема запчастей Komatsu PC1600-1-A - МЕХАНИЗМ ПОВОРОТА¤ ПЕРЕДН. (/)(№-) ПОВОРОТН. КРУГ И КОМПОНЕНТЫ
FIT
1:1
100%

Артикул

Название

Примечание

Количество

|1

21T-26-00010

SWING MACHINERY A.

1

209-26-51110

CASE

2

07049-03038

PLUG

3

06030-23234

BEARING,ROLLER

4

21T-26-11510

SPACER

5

21T-26-11270

RING,SNAP

6

21T-26-11260

SEAL,OIL

7

209-26-51240

COVER

8

01010-51030

BOLT

9

01643-31032

WASHER

10

21T-26-11260

SEAL,OIL

11

21T-26-71110

GEAR

12

07000-05070

O-RING

13

07000-05160

O-RING

14

04020-01228

PIN

15

21T-26-11250

HOLDER

16

01011-83040

BOLT

17

01643-33080

WASHER

18

21T-26-11281

SEAL

19

21T-26-11460

COLLAR

20

01011-83020

BOLT

21

01643-33080

WASHER

22

07002-03634

O-RING

23

209-62-15940

NUT

24

209-62-15830

ELBOW

25

07103-20604

HOSE

26

209-26-51280

ELBOW

27

01010-51225

BOLT

28

01643-31232

WASHER

29

07730-40004

VALVE

Выбрано товаров: 30