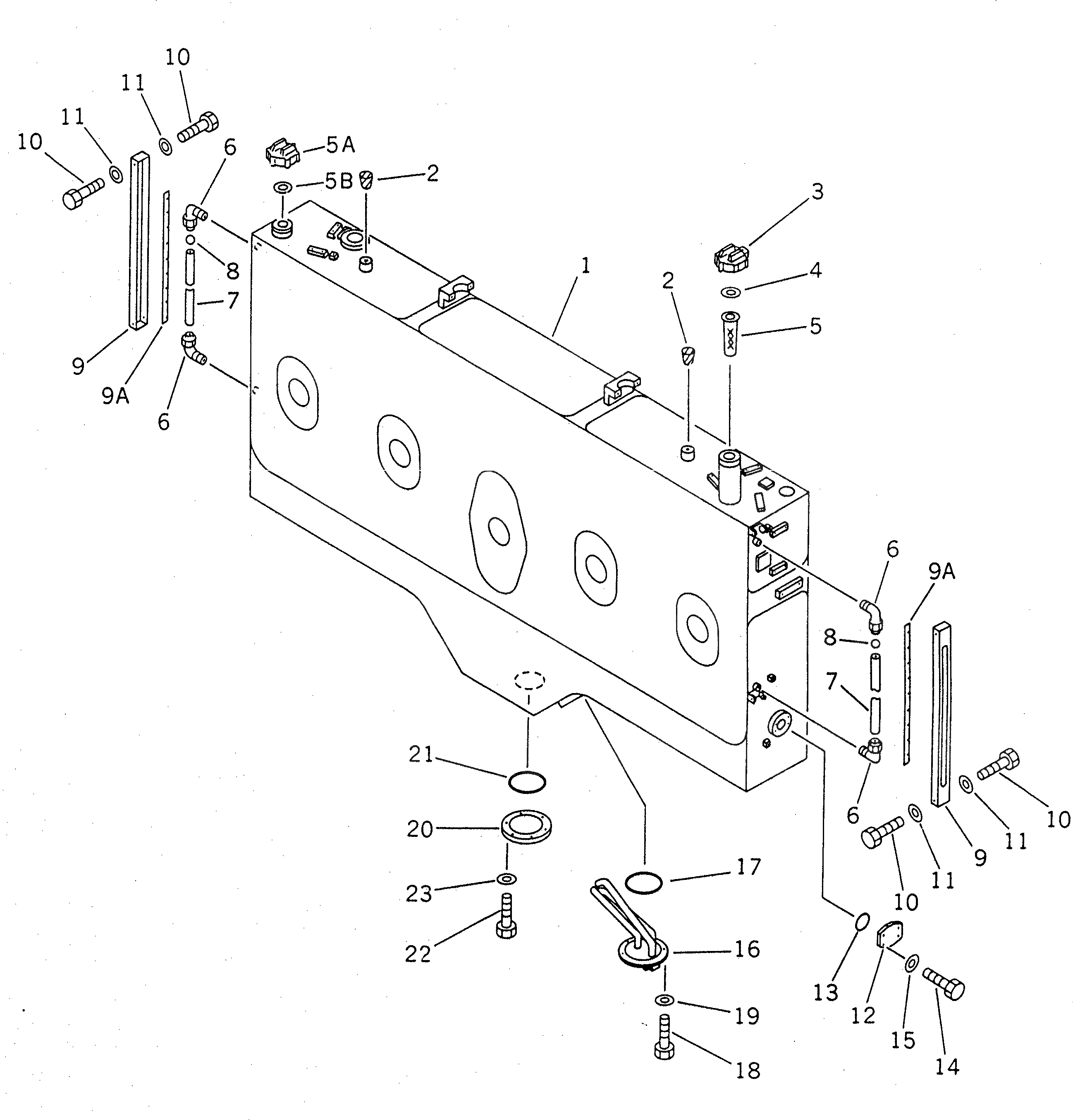
Запчасти Komatsu PC1600-1-A ТОПЛИВН. БАК. (/)(№-7) ТОПЛИВН. БАК. AND КОМПОНЕНТЫ

Схема запчастей Komatsu PC1600-1-A - ТОПЛИВН. БАК. (/)(№-7) ТОПЛИВН. БАК. AND КОМПОНЕНТЫ
FIT
1:1
100%

Артикул

Название

Примечание

Количество

|1

21T-919-0180

FUEL TANK ASS'Y

1

21T-919-1470

TANK

2

07049-03038

PLUG

3

07091-21200

CAP

4

07050-21202

GASKET

5

07056-18416

STRAINER

5A

07050-41200

CAP

5B

07050-21202

GASKET

6

208-04-19130

ELBOW

7

21T-04-71160

TUBE

8

208-04-19160

BALL

9

21T-919-1150

COVER

9A

21T-00-71450

PLATE

10

01010-51020

BOLT

11

01643-31032

WASHER

12

21T-919-1140

FLANGE

13

07000-02080

O-RING

14

01010-51225

BOLT

15

01643-31232

WASHER

16

21T-919-1230

FLANGE

17

07000-05170

O-RING

18

01010-51235

BOLT

19

01643-31232

WASHER

20

21T-919-1130

COVER

21

07000-05170

O-RING

22

01010-51235

BOLT

23

01643-31232

WASHER

Выбрано товаров: 27