Запчасти Komatsu PC1600-1-A СОЕДИНИТЕЛЬН. ЗВЕНО (ДЛЯ УДЛИНН. РУКОЯТИ) РАБОЧЕЕ ОБОРУДОВАНИЕ

Схема запчастей Komatsu PC1600-1-A - СОЕДИНИТЕЛЬН. ЗВЕНО (ДЛЯ УДЛИНН. РУКОЯТИ) РАБОЧЕЕ ОБОРУДОВАНИЕ
FIT
1:1
100%

Артикул

Название

Примечание

Количество

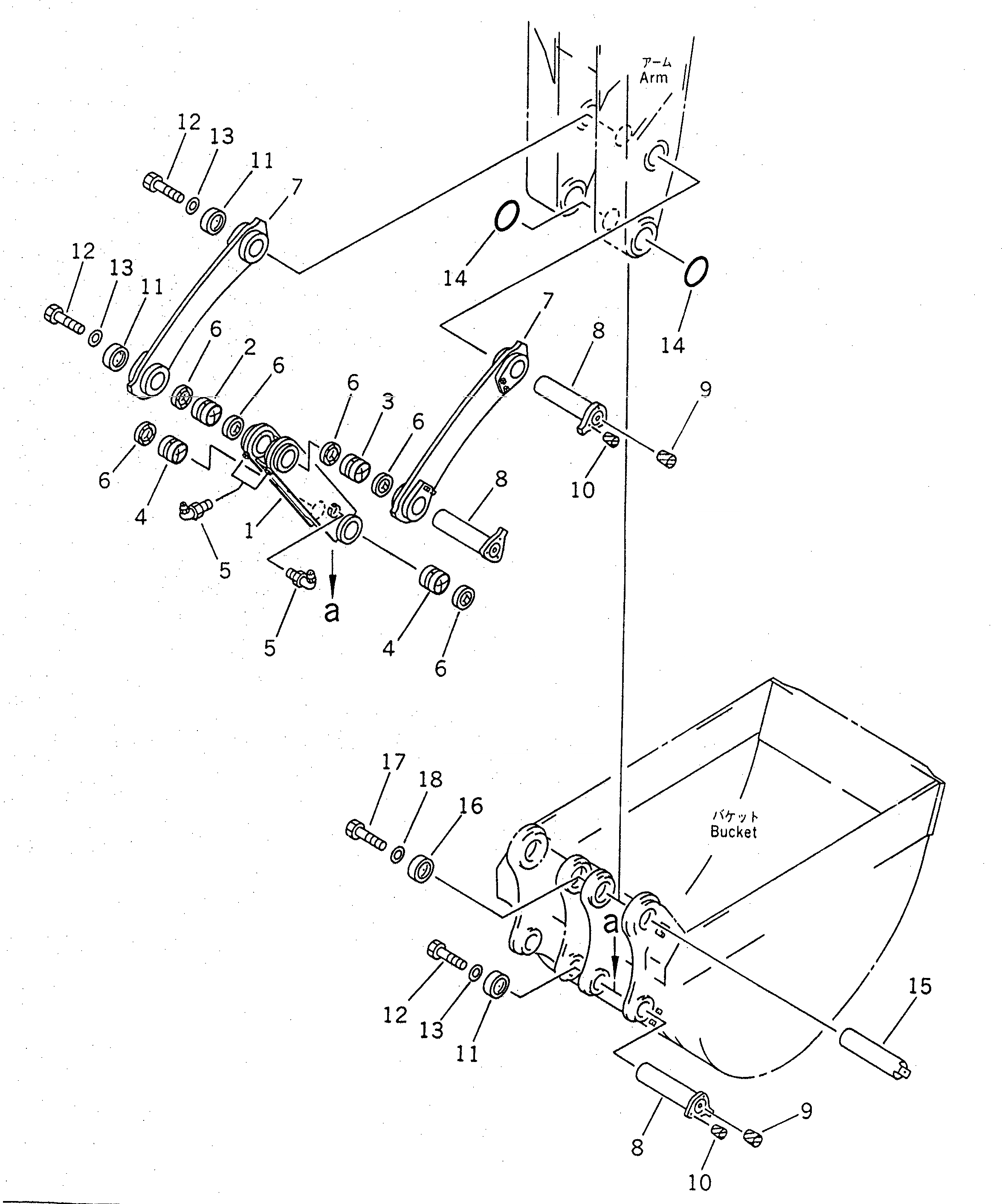
G-1

21T-919-X910

LINK GROUP

|1

21T-919-0120

LINK ASS'Y,L.H.

|1

21T-919-0140

LINK ASS'Y,R.H.

1

LINK,L.H.

|1

LINK,R.H.

2

21T-70-73170

BUSHING

3

21T-70-73160

BUSHING

4

209-72-11251

BUSHING

5

07020-00675

FITTING,GREASE

6

209-72-11261

SEAL

7

21T-919-7210

LINK

G-2

21T-919-X920

PIN GROUP

8

21T-919-7280

PIN

9

07049-04253

PLUG

10

07049-02430

PLUG

11

21T-919-7320

STOPPER

12

01010-81645

BOLT

13

01643-31645

WASHER

14

21N-70-13150

O-RING

15

21T-919-7290

PIN

16

21T-919-7320

STOPPER

17

01010-81645

BOLT

18

01643-31645

WASHER

Выбрано товаров: 23