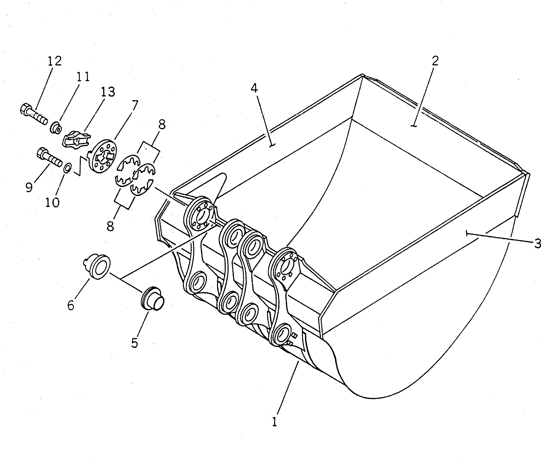
Запчасти Komatsu PC1600-1-A КОВШ¤ 7.M¤ ШИР. MM РАБОЧЕЕ ОБОРУДОВАНИЕ

Схема запчастей Komatsu PC1600-1-A - КОВШ¤ 7.M¤ ШИР. MM РАБОЧЕЕ ОБОРУДОВАНИЕ
FIT
1:1
100%

Артикул

Название

Примечание

Количество

G-1

21T-919-X620

BUCKET GROUP

|1

21T-919-0160

BUCKET ASS'Y

1

BUCKET

2

21T-70-74420

PLATE (WELDED)

3

21T-70-74430

PLATE,L.H. (WELDED)

4

21T-70-74440

PLATE,R.H. (WELDED)

5

21T-70-74280

BUSHING

6

21N-70-14220

BUSHING

7

21T-919-7352

COVER

|7

21T-919-7351

COVER

8

21T-70-00050

SHIM ASS'Y

|8

SHIM¤ 1.0MM

|8

SHIM¤ 0.5MM

9

01011-83615

BOLT

10

01643-33690

WASHER

11

21T-919-7810

COLLAR

12

01010-83070

BOLT

13

21T-919-7690

COVER

Выбрано товаров: 18