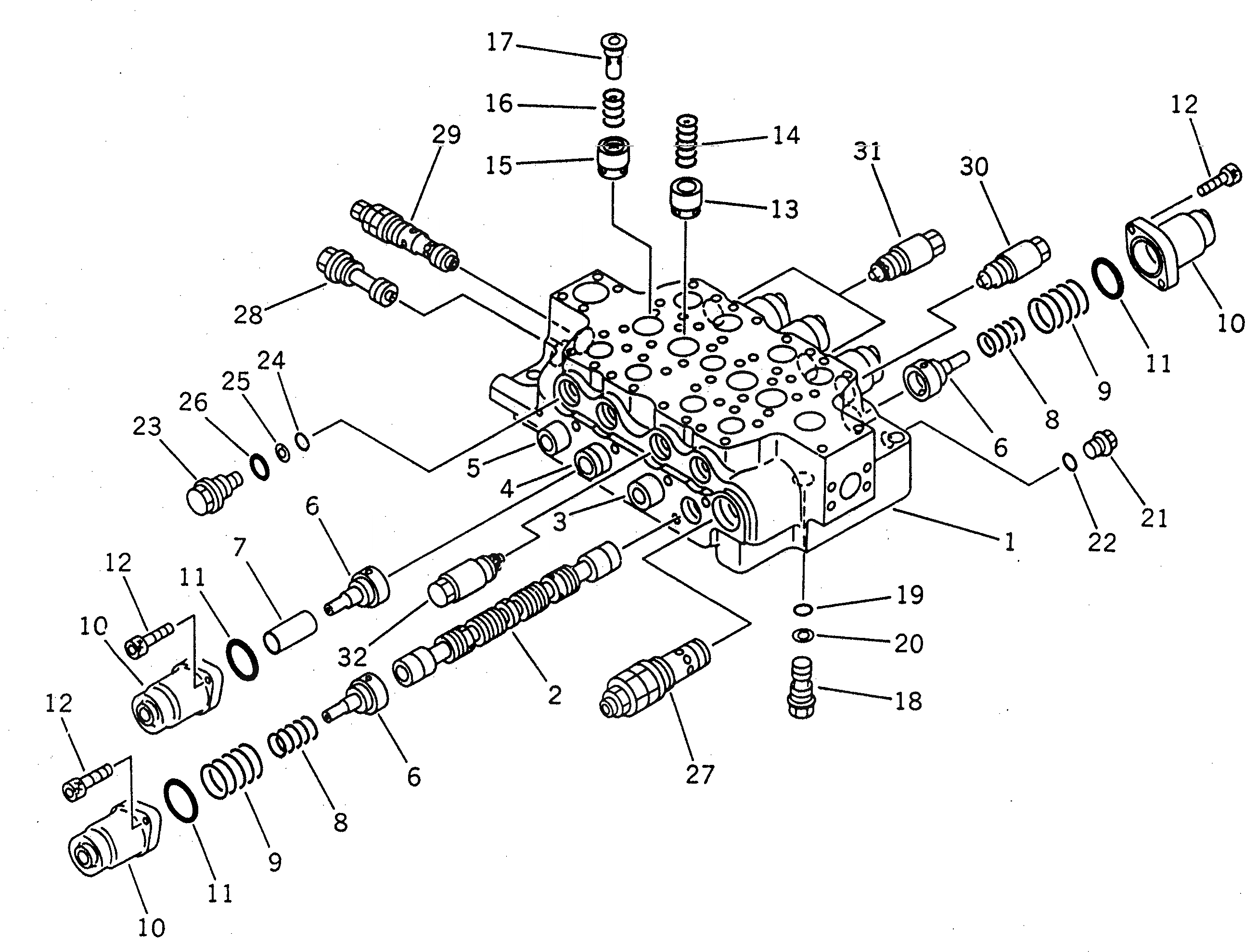
Запчасти Komatsu PC1600-1-A ОСНОВН. КЛАПАН (/) (4-Х СЕКЦИОНН.) (ЛЕВ.) ОСНОВН. КОМПОНЕНТЫ И РЕМКОМПЛЕКТЫ

Схема запчастей Komatsu PC1600-1-A - ОСНОВН. КЛАПАН (/) (4-Х СЕКЦИОНН.) (ЛЕВ.) ОСНОВН. КОМПОНЕНТЫ И РЕМКОМПЛЕКТЫ
FIT
1:1
100%

Артикул

Название

Примечание

Количество

|1

709-14-91202

VALVE ASS'Y

|1

709-14-91201

VALVE ASS'Y

|1

BODY ASS'Y

1

BODY

|1

BODY

2

SPOOL,R.H. TRAVEL

3

SPOOL,BOOM

4

SPOOL,BUCKET

5

SPOOL,ARM

6

709-14-11530

RETAINER

7

709-14-11540

TUBE

8

709-14-11560

SPRING,INNER

9

709-14-11550

SPRING,OUTER

10

709-14-11520

CASE

11

07000-02065

O-RING

12

01252-31035

BOLT

13

709-12-11411

VALVE,CHECK

14

709-12-11430

SPRING

15

709-14-11581

VALVE,CHECK

16

709-14-11590

SPRING

17

709-14-11610

SEAT

18

709-14-11510

PLUG

19

700-80-61260

O-RING

20

700-80-61430

RING,BACK-UP

21

700-22-11370

PLUG

22

07002-02434

O-RING

23

700-94-11260

PLUG

24

07000-12018

O-RING

25

07001-02018

RING,BACK-UP

26

07002-03634

O-RING

27

709-10-52403

VALVE ASS'Y,RELIEF

28

709-10-92100

ORIFICE ASS'Y

29

709-10-55102

VALVE ASS'Y,RELIEF

|29

709-10-55101

VALVE ASS'Y,RELIEF

30

700-90-74001

VALVE ASS'Y,SUCTION

31

709-90-63401

VALVE ASS'Y,SUCTION AND SAFETY

|31

709-90-63400

VALVE ASS'Y,SUCTION AND SAFETY

32

709-90-63301

VALVE ASS'Y,SUCTION AND SAFETY

|32

709-90-63300

VALVE ASS'Y,SUCTION AND SAFETY

Выбрано товаров: 39