Запчасти Komatsu PC1600-1-A КЛАПАН PPC(ДЛЯ ХОДА) ОСНОВН. КОМПОНЕНТЫ И РЕМКОМПЛЕКТЫ

Схема запчастей Komatsu PC1600-1-A - КЛАПАН PPC(ДЛЯ ХОДА) ОСНОВН. КОМПОНЕНТЫ И РЕМКОМПЛЕКТЫ
FIT
1:1
100%

Артикул

Название

Примечание

Количество

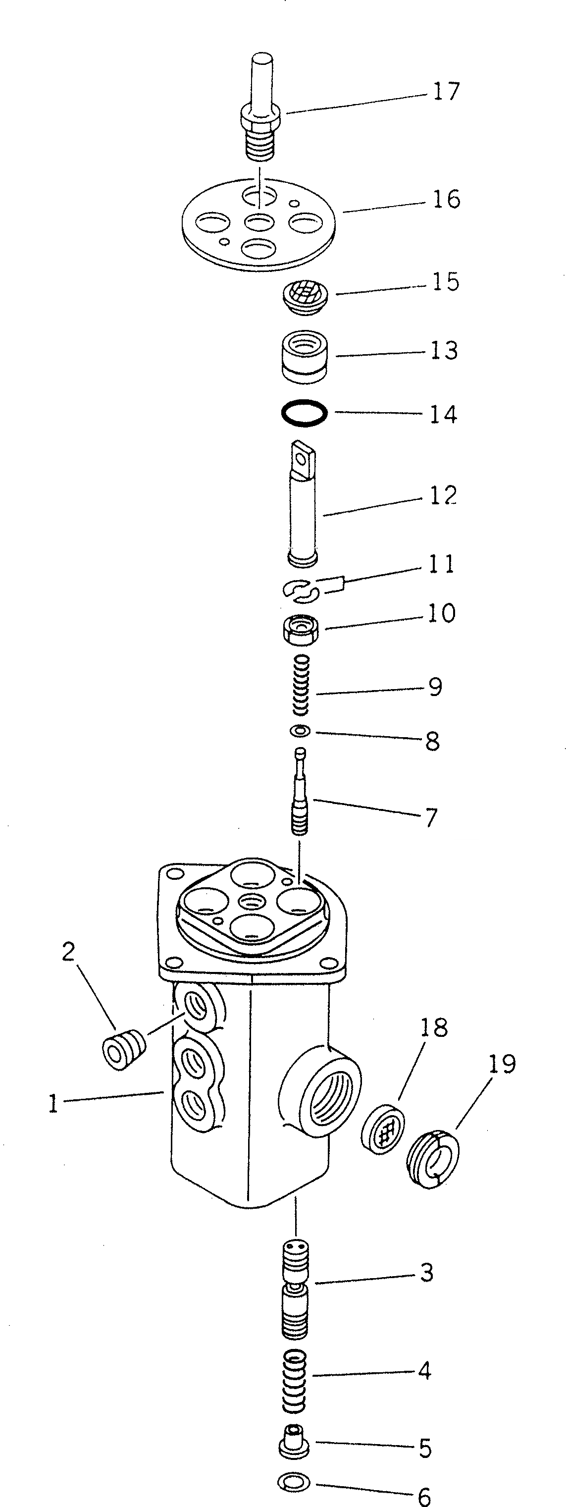
|1

702-16-56003

PILOT VALVE

1

BODY

2

07043-50312

PLUG

3

VALVE

4

702-16-51331

SPRING

5

702-16-51341

RETAINER

6

700-20-51550

RING

7

PISTON

8

702-16-51140

SHIM¤ 0.30MM

9

702-16-51361

SPRING

10

702-16-51161

RETAINER

11

702-16-51170

COLLAR

12

702-16-52120

PISTON

13

702-16-51220

COLLAR

14

07000-02020

O-RING

15

702-16-51270

SEAL

16

702-16-51231

PLATE

17

702-16-52130

BOLT

18

720-68-15240

FILTER

19

702-16-51410

PLUG

Выбрано товаров: 20