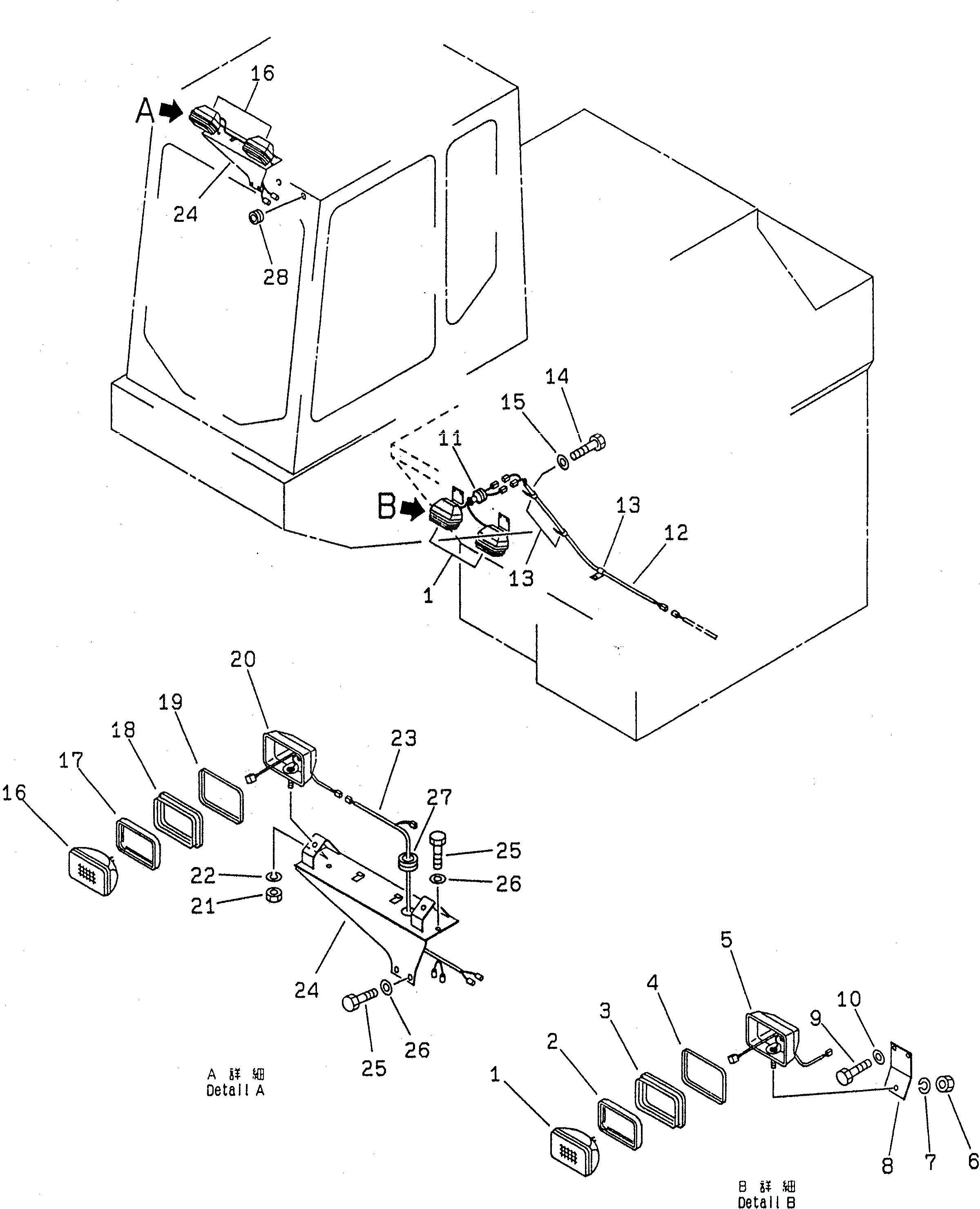
Запчасти Komatsu PC1600-1-A BARGE ОСВЕЩЕНИЕ (ДЛЯ SUPER ВЫС. КАБИНА)(№-8) ЭЛЕКТРИКА

Схема запчастей Komatsu PC1600-1-A - BARGE ОСВЕЩЕНИЕ (ДЛЯ SUPER ВЫС. КАБИНА)(№-8) ЭЛЕКТРИКА
FIT
1:1
100%

Артикул

Название

Примечание

Количество

|1

22W-06-12381

LAMP ASS'Y

1

22W-06-12170

BULB

2

22W-06-12120

RING

3

22W-06-12290

CUSHION

4

22W-06-12130

RING

5

22W-06-12280

HOUSING

6

01582-11411

NUT

7

01602-21442

WASHER,SPRING

8

21T-919-2690

BRACKET

9

01010-81235

BOLT

10

01643-31232

WASHER

11

21T-54-71980

GROMMET

12

21T-06-73630

WIRING HARNESS

13

08036-00814

CLIP

14

01010-81225

BOLT

15

01643-31232

WASHER

|16

22W-06-12381

LAMP ASS'Y

16

22W-06-12170

BULB

17

22W-06-12120

RING

18

22W-06-12290

CUSHION

19

22W-06-12130

RING

20

22W-06-12280

HOUSING

21

01582-11411

NUT

22

01602-21442

WASHER,SPRING

23

21T-06-73450

WIRING HARNESS

24

21T-919-2680

BRACKET

25

01010-81225

BOLT

26

01643-31232

WASHER

27

08037-03614

GROMMET

28

09415-02512

CAP

Выбрано товаров: 30