Запчасти Komatsu PC1600-1-A ГИДРАВЛ МАСЛ. БАК (ДЛЯ SUPER ВЫС. КАБИНА)(№-8) ГИДРАВЛИКА

Схема запчастей Komatsu PC1600-1-A - ГИДРАВЛ МАСЛ. БАК (ДЛЯ SUPER ВЫС. КАБИНА)(№-8) ГИДРАВЛИКА
FIT
1:1
100%

Артикул

Название

Примечание

Количество

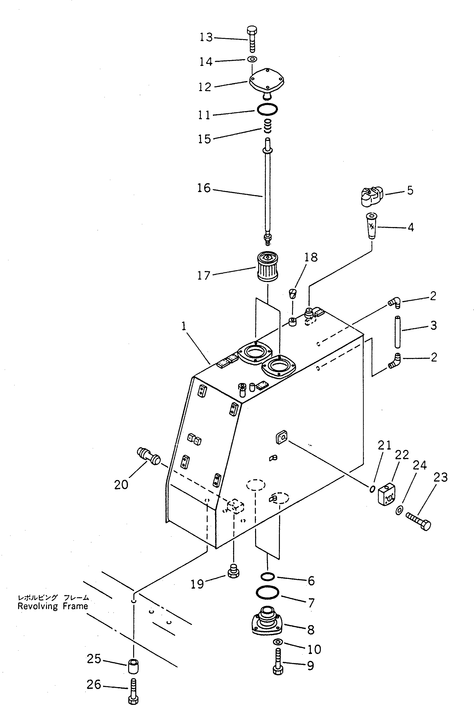
1

21T-60-74510

TANK

2

203-60-31100

ELBOW ASS'Y

3

21T-60-71160

TUBE

4

07056-10045

STRAINER

5

07092-01000

CAP

6

21N-09-11140

O-RING

7

07000-05230

O-RING

8

21T-60-71130

COVER

9

01010-81245

BOLT

10

01643-31232

WASHER

11

07000-05230

O-RING

12

21T-919-6120

COVER

13

01010-81235

BOLT

14

01643-31232

WASHER

15

12R-60-11230

SPRING

16

21T-60-71120

SUPPORT

17

209-60-51120

STRAINER

18

07049-03038

PLUG

19

07040-13618

PLUG

20

198-60-19820

VALVE

21

07000-02055

O-RING

22

21T-919-6140

CASE

23

01010-81075

BOLT

24

01643-31032

WASHER

25

21T-919-6130

SPACER

26

01011-83010

BOLT

Выбрано товаров: 26