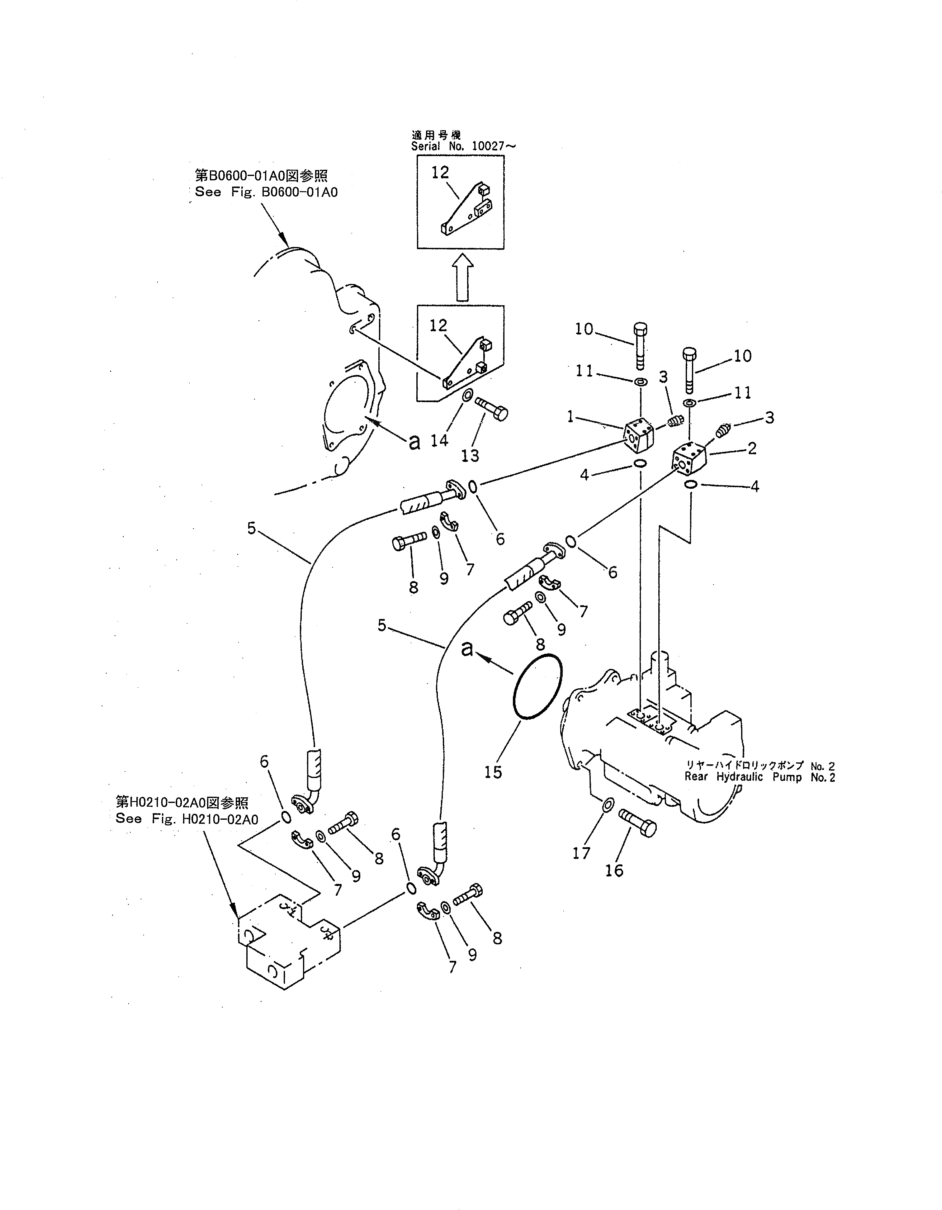
Запчасти Komatsu PC1600-1-A NO. НАСОС - БЛОК ТРУБЫ¤ ЗАДН. ГИДРАВЛИКА

Схема запчастей Komatsu PC1600-1-A - NO. НАСОС - БЛОК ТРУБЫ¤ ЗАДН. ГИДРАВЛИКА
FIT
1:1
100%

Артикул

Название

Примечание

Количество

1

21T-62-71620

BLOCK

2

21T-62-71670

BLOCK

3

07042-30108

PLUG

4

07000-B3032

O-RING

|4

21T-09-11460

O-RING

5

07098-01015

HOSE

6

07000-B3032

O-RING

|6

21T-09-11460

O-RING

7

07371-31049

FLANGE

8

07372-21035

BOLT

9

01643-51032

WASHER

10

01010-81085

BOLT

11

01643-31032

WASHER

12

21T-62-71465

BRACKET

|12

21T-62-71464

BRACKET

13

01010-81245

BOLT

14

01643-31232

WASHER

15

07000-E5230

O-RING

|15

07000-35230

O-RING

16

01010-81650

BOLT

17

01643-31645

WASHER

Выбрано товаров: 0