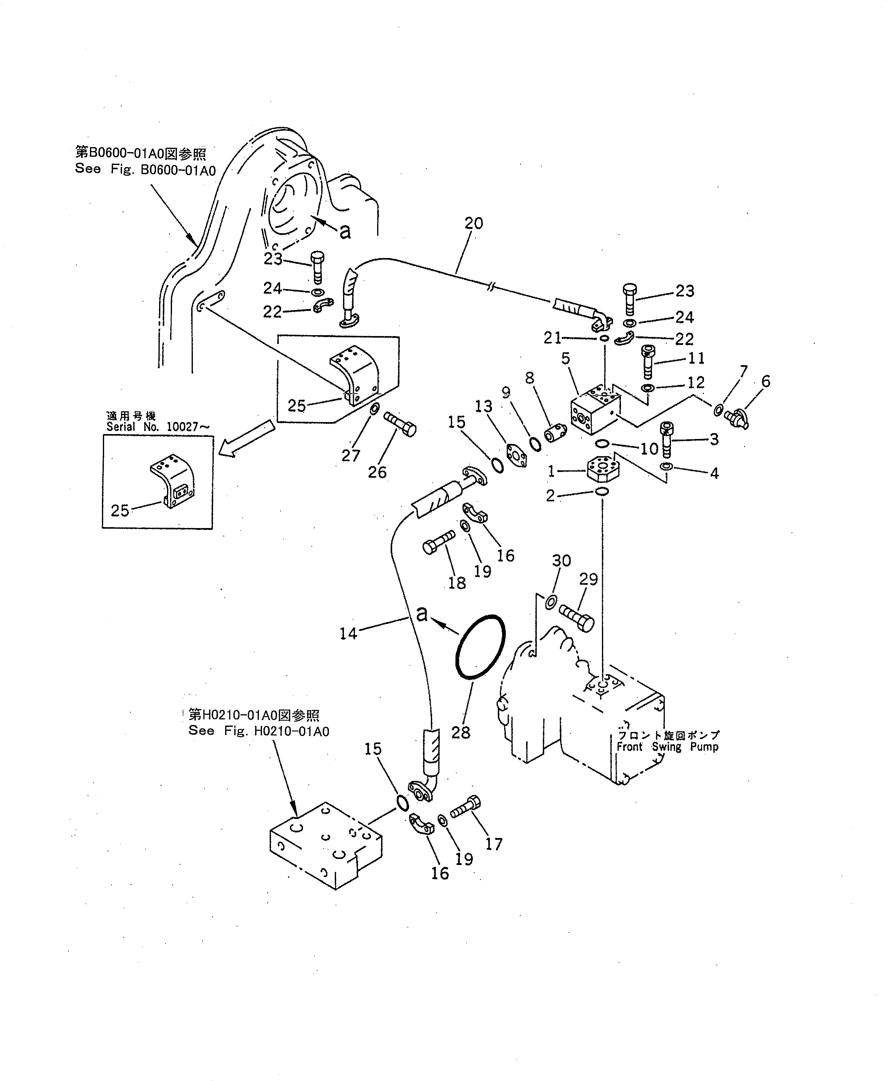
Запчасти Komatsu PC1600-1-A ВОЗВРАТ. ТРУБЫ (НАСОС - БЛОК) ГИДРАВЛИКА

Схема запчастей Komatsu PC1600-1-A - ВОЗВРАТ. ТРУБЫ (НАСОС - БЛОК) ГИДРАВЛИКА
FIT
1:1
100%

Артикул

Название

Примечание

Количество

1

21T-62-71690

FLANGE

2

21T-09-11480

O-RING

3

01252-31235

BOLT

4

01643-51232

WASHER

5

21T-62-71121

BLOCK

6

720-68-15910

NIPPLE

7

720-68-15260

SEAL

8

209-60-12640

VALVE

9

21T-09-11490

O-RING

10

07000-B3038

O-RING

|10

21T-09-11480

O-RING

11

01252-31290

BOLT

12

01643-51232

WASHER

13

21T-62-71510

PLATE

14

07098-01216

HOSE

15

07000-B3038

O-RING

|15

21T-09-11480

O-RING

16

07371-51260

FLANGE

17

01010-81245

BOLT

18

01010-81255

BOLT

19

01643-31232

WASHER

20

21T-62-71710

HOSE

21

21T-09-11430

O-RING

22

07371-30638

FLANGE

23

01010-80830

BOLT

24

01643-50823

WASHER

25

21T-62-71323

BRACKET

|25

21T-62-71322

BRACKET

|25

21T-62-71321

BRACKET

26

01010-81260

BOLT

27

01643-31232

WASHER

28

07000-E5270

O-RING

|28

07000-35270

O-RING

29

01010-82065

BOLT

30

01643-32060

WASHER

Выбрано товаров: 35