Запчасти Komatsu PC1600-1 ФИЛЬТР - 5-СЕКЦИОНН. УПРАВЛЯЮЩ. КЛАПАН ТРУБЫ¤ ЛЕВ. ГИДРАВЛИКА

Схема запчастей Komatsu PC1600-1 - ФИЛЬТР - 5-СЕКЦИОНН. УПРАВЛЯЮЩ. КЛАПАН ТРУБЫ¤ ЛЕВ. ГИДРАВЛИКА
FIT
1:1
100%

Артикул

Название

Примечание

Количество

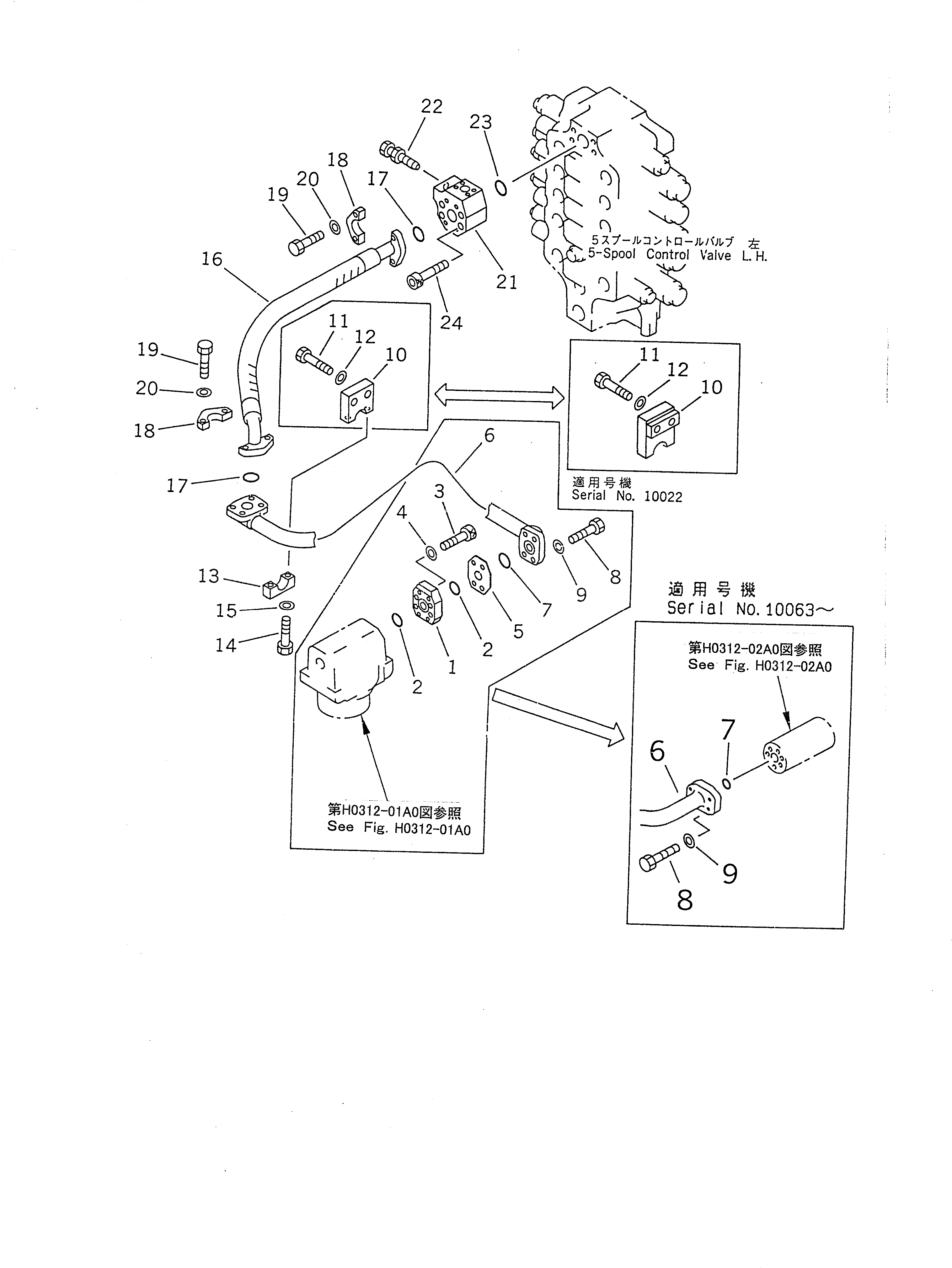
1

209-62-51290

BLOCK

2

21T-09-11480

O-RING

3

01252-31240

BOLT

4

01643-51232

WASHER

5

209-62-51310

COVER

6

21T-62-71211

TUBE

6

21T-62-71210

TUBE

7

07000-B3048

O-RING

7

21T-09-11510

O-RING

8

01010-81455

BOLT

9

01643-31445

WASHER

10

21T-62-71680

CLAMP

11

01010-81250

BOLT

12

175-54-34170

WASHER

13

176-61-41330

CLAMP

14

01010-81250

BOLT

15

01643-31232

WASHER

16

07098-01407

HOSE

17

07000-B3048

O-RING

17

21T-09-11510

O-RING

18

07371-51470

FLANGE

19

01010-81455

BOLT

20

01643-31445

WASHER

|$25

21T-62-71400

VALVE ASS'Y

21

21T-62-71390

BLOCK

22

198-30-14420

PLUG

23

07000-B3048

O-RING

23

21T-09-11510

O-RING

24

01252-31490

BOLT

Выбрано товаров: 29