Запчасти Komatsu PC1600-1 OLSS ТРУБЫ (/) (AGC СПЕЦ-Я.)(№-) ГИДРАВЛИКА

Схема запчастей Komatsu PC1600-1 - OLSS ТРУБЫ (/) (AGC СПЕЦ-Я.)(№-) ГИДРАВЛИКА
FIT
1:1
100%

Артикул

Название

Примечание

Количество

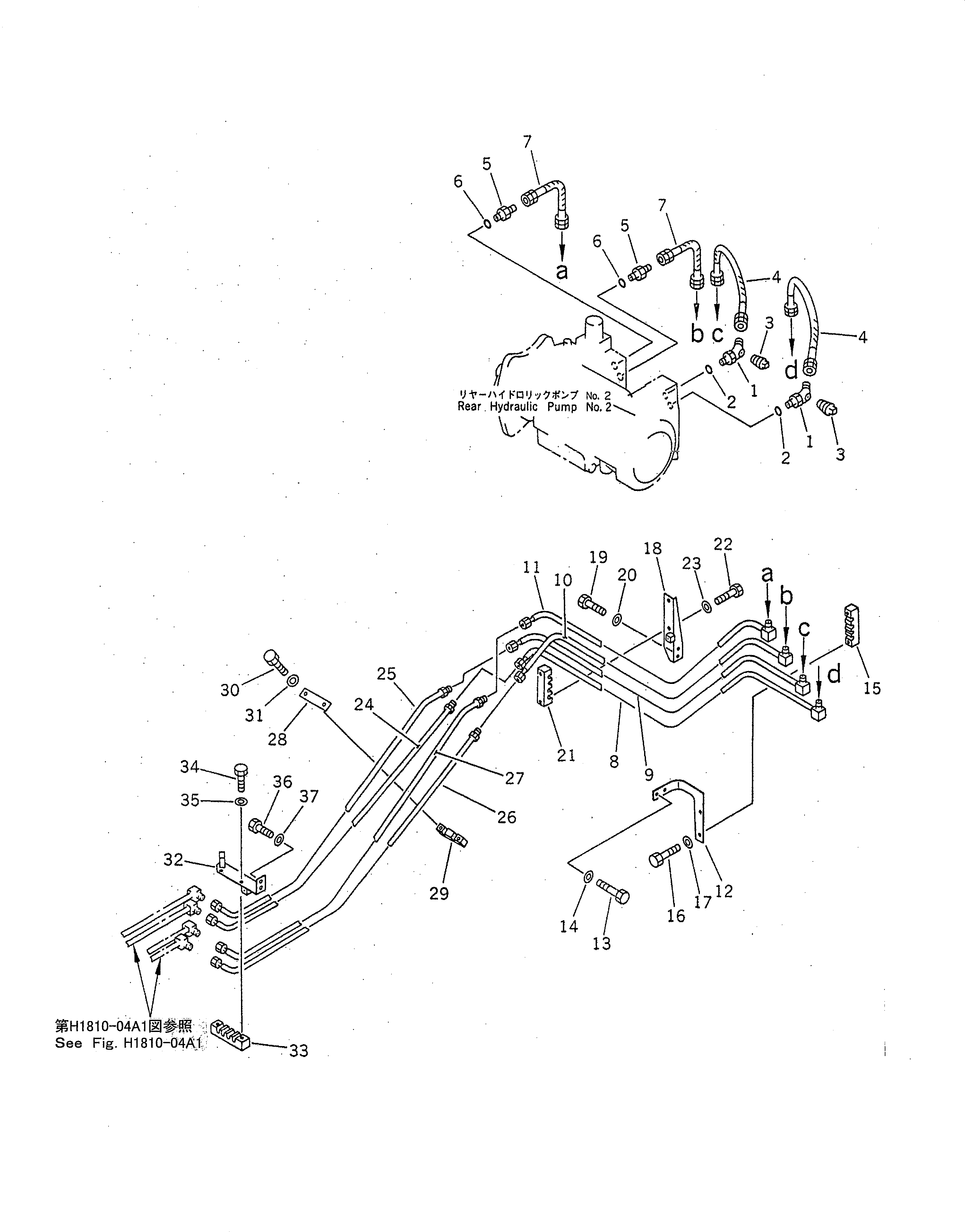
1

07236-50210

ELBOW

2

07002-11423

O-RING

3

07042-30108

PLUG

4

07108-20204

HOSE

5

07230-20210

UNION

6

07002-11423

O-RING

7

07108-20203

HOSE

8

21T-62-87630

TUBE

9

21T-62-87620

TUBE

10

21T-62-87610

TUBE

11

21T-62-87590

TUBE

12

21T-62-87270

BRACKET

13

01010-81230

BOLT

14

01643-31232

WASHER

15

21T-62-87260

CLAMP

16

01010-81030

BOLT

17

01643-31032

WASHER

18

21T-62-87580

BRACKET

19

01010-81225

BOLT

20

01643-31232

WASHER

21

21T-62-87250

CLAMP

22

01010-81025

BOLT

23

01643-31032

WASHER

24

21T-62-87650

TUBE

25

21T-62-87640

TUBE

26

21T-62-87670

TUBE

27

21T-62-87660

TUBE

28

21T-62-87550

PLATE

29

21T-62-87560

CLAMP

30

01010-81025

BOLT

31

01643-31032

WASHER

32

21T-62-86790

BRACKET

33

21T-62-87250

CLAMP

34

01010-81025

BOLT

35

01643-31032

WASHER

36

01010-81230

BOLT

37

01643-31232

WASHER

Выбрано товаров: 37