Запчасти Komatsu PC1600-1 OLSS ТРУБЫ (/) ГИДРАВЛИКА

Схема запчастей Komatsu PC1600-1 - OLSS ТРУБЫ (/) ГИДРАВЛИКА
FIT
1:1
100%

Артикул

Название

Примечание

Количество

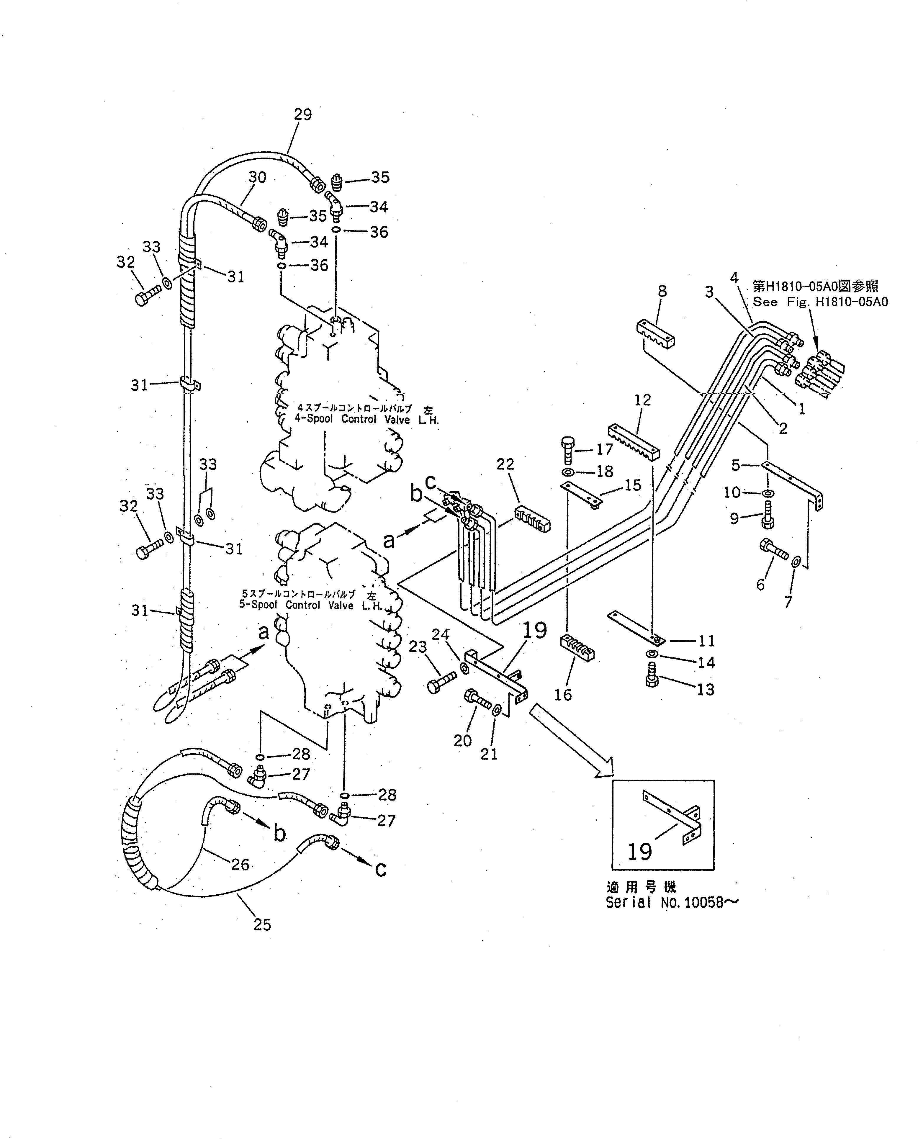
1

21T-62-87790

TUBE

2

21T-62-87810

TUBE

3

21T-62-87820

TUBE

4

21T-62-87830

TUBE

5

21T-62-87860

BRACKET

6

01010-81230

BOLT

6

01010-51230

BOLT

7

01643-31232

WASHER

8

21T-62-87250

CLAMP

9

01010-81025

BOLT

9

01010-51025

BOLT

10

01643-31032

WASHER

11

21T-62-87530

PLATE

12

21T-62-87520

CLAMP

13

01010-81025

BOLT

13

01010-51025

BOLT

14

01643-31032

WASHER

15

21T-62-87540

BRACKET

16

21T-62-87250

CLAMP

17

01010-81025

BOLT

17

01010-51025

BOLT

18

01643-31032

WASHER

19

21T-62-87481

BRACKET

19

21T-62-87480

BRACKET

20

01010-81230

BOLT

20

01010-51230

BOLT

21

01643-31232

WASHER

22

21T-62-87250

CLAMP

23

01010-81025

BOLT

23

01010-51025

BOLT

24

01643-31032

WASHER

|$33

21T-62-87950

HOSE ASS'Y

25

07108-20207

HOSE,(GREEN)

26

07108-20208

HOSE,(YELLOW)

27

07235-10210

ELBOW

28

07002-11423

O-RING

|$38

21T-62-87940

HOSE ASS'Y

29

07108-20225

HOSE,(WHITE)

30

07108-20225

HOSE,(BLUE)

31

175-06-25160

CLIP

32

01010-81225

BOLT

32

01010-51225

BOLT

33

01643-31232

WASHER

34

07235-50210

ELBOW

35

07042-30108

PLUG

36

07002-11423

O-RING

Выбрано товаров: 46