Качественные детали и логистика
Оригинальные и аналоговые запчасти с доставкой по России, Казахстану и Беларуси
©2022 PartSell ООО "Система" ИНН 2463123282 ОГРН 1212400004838
Центральный офис: г. Красноярск, Академика Киренского, д.87, пом.4
Телефон: 8 (800) 777-65-74 Email: zakaz@partsell.ru
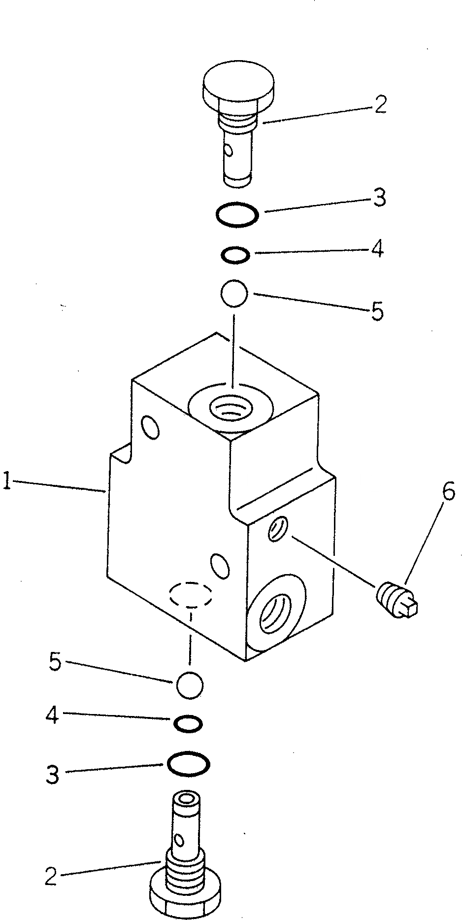
ПРЯМ. ХОД РАСПРЕДЕЛИТ. КЛАПАН
№
Артикул
Название
Примечание
Количество
|$2
21T-60-72600
SHUTTLE VALVE ASS'Y
1
21T-60-72610
BLOCK
2
21T-60-72620
PLUG
3
07002-01423
O-RING
4
07000-01007
5
04260-00952
BALL
6
07042-30108
Выбрано товаров: 0