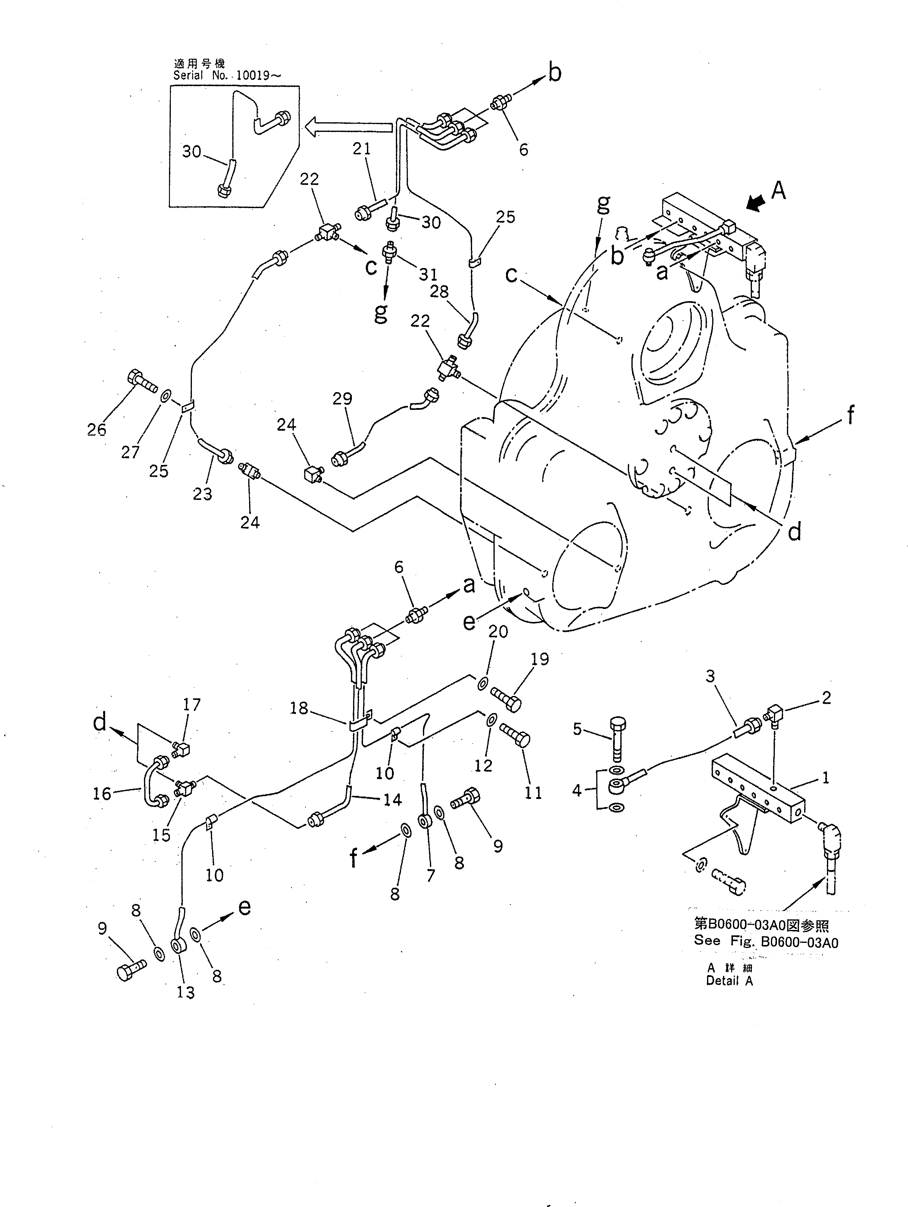
Запчасти Komatsu PC1600-1 МЕХ-М ОТБОРА МОЩНОСТИ ТРУБЫ (ЛИНИЯ СМАЗКИS)(№-9) КОМПОНЕНТЫ ДВИГАТЕЛЯ

Схема запчастей Komatsu PC1600-1 - МЕХ-М ОТБОРА МОЩНОСТИ ТРУБЫ (ЛИНИЯ СМАЗКИS)(№-9) КОМПОНЕНТЫ ДВИГАТЕЛЯ
FIT
1:1
100%

Артикул

Название

Примечание

Количество

1

209-38-51291

BLOCK

2

176-43-41350

ELBOW

3

209-38-51351

TUBE

4

07005-01012

GASKET

5

209-38-51441

BOLT,JOINT

6

07213-50710

CONNECTOR

7

209-38-51341

TUBE

8

07005-01012

GASKET

9

07206-30710

BOLT,JOINT

10

21T-38-12270

CLIP

11

01010-51020

BOLT

12

01643-31032

WASHER

13

209-38-51311

TUBE

14

209-38-51322

TUBE

15

209-38-12290

TEE

16

209-38-51330

TUBE

17

176-43-41350

ELBOW

18

209-38-12260

CLIP

19

01010-51020

BOLT

20

01643-31032

WASHER

21

209-38-51411

TUBE

22

209-38-51460

TEE

23

21T-38-71270

TUBE

24

176-43-41350

ELBOW

25

21T-38-12270

CLIP

26

01010-51020

BOLT

27

01643-31032

WASHER

28

209-38-51361

TUBE

29

209-38-51370

TUBE

30

21T-38-71280

TUBE

30

209-38-51381

TUBE

31

07213-50710

CONNECTOR

Выбрано товаров: 32