Запчасти Komatsu PC1600-1 SUB СИДЕНЬЕ(№-) КАБИНА ОПЕРАТОРА И СИСТЕМА УПРАВЛЕНИЯ

Схема запчастей Komatsu PC1600-1 - SUB СИДЕНЬЕ(№-) КАБИНА ОПЕРАТОРА И СИСТЕМА УПРАВЛЕНИЯ
FIT
1:1
100%

Артикул

Название

Примечание

Количество

|$0

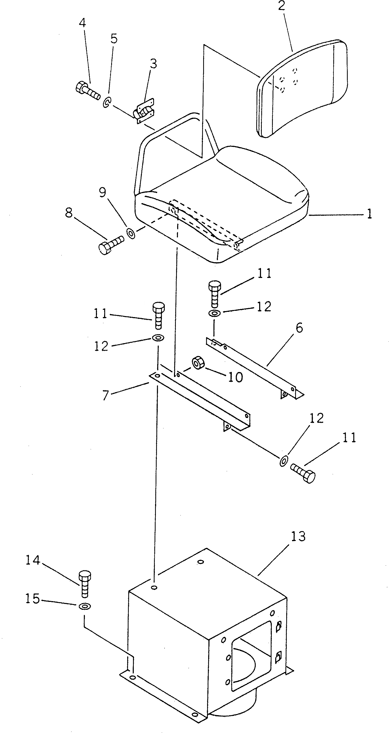
23S-57-12102

SEAT ASS'Y

1

23S-57-12112

SEAT

2

23S-57-12121

SEAT,BACK

3

20R-57-21130

BRACKET

4

01010-50612

BOLT

5

01602-20619

WASHER,SPRING

6

21T-57-71150

BRACKET,L.H.

7

21T-57-71160

BRACKET,R.H.

8

01010-50820

BOLT

9

01643-30823

WASHER,SPRING

10

01580-10806

NUT

11

01010-50820

BOLT

12

01643-30823

WASHER

13

21T-57-71170

BOX

14

01010-51230

BOLT

15

01643-31232

WASHER

Выбрано товаров: 16