Запчасти Komatsu PC1600-1 СИСТЕМА ТРУБ РАДИАТОРА (/) СИСТЕМА ОХЛАЖДЕНИЯ

Схема запчастей Komatsu PC1600-1 - СИСТЕМА ТРУБ РАДИАТОРА (/) СИСТЕМА ОХЛАЖДЕНИЯ
FIT
1:1
100%

Артикул

Название

Примечание

Количество

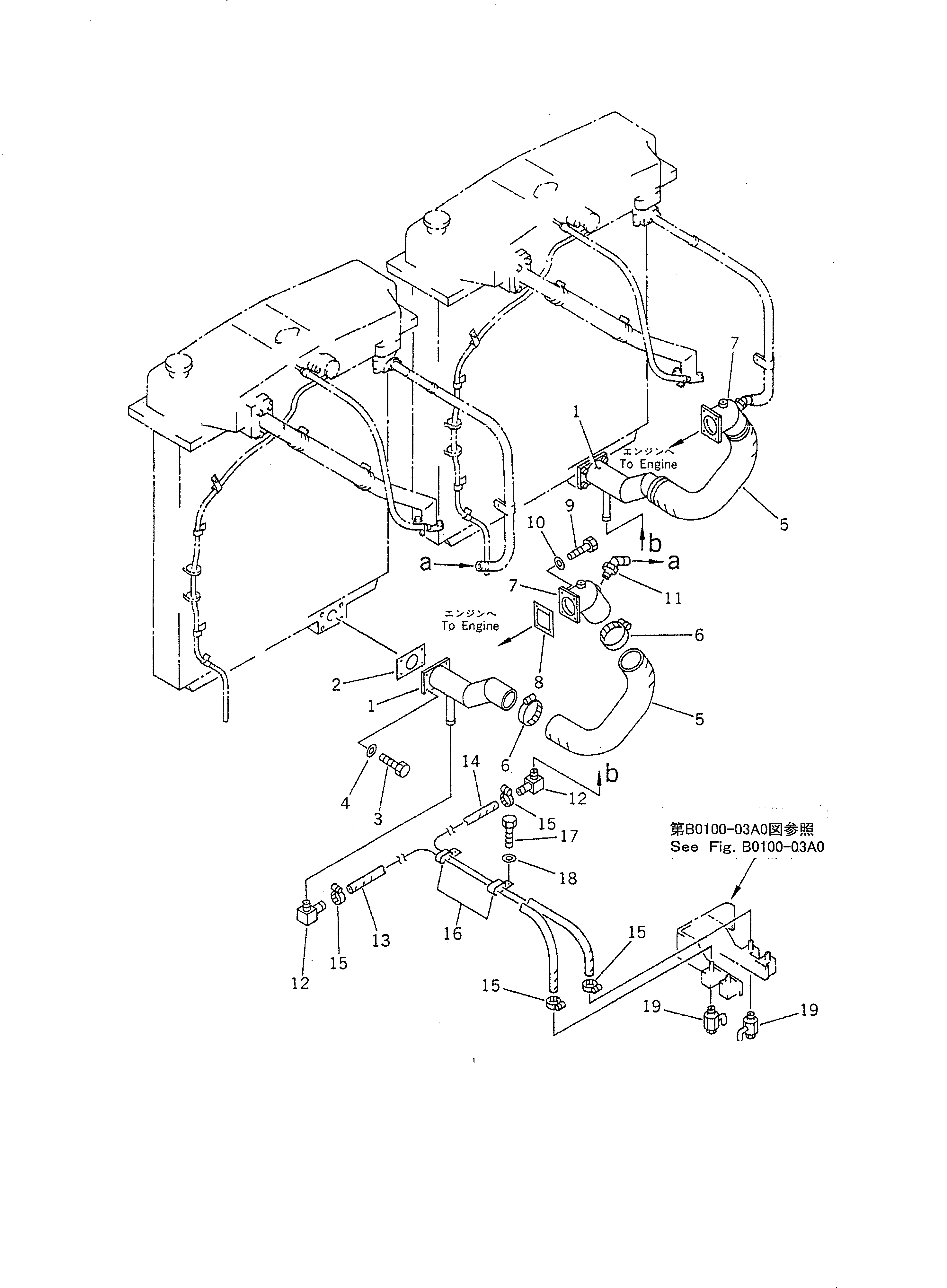
1

21T-03-71330

TUBE

2

195-03-18651

GASKET

2

195-03-18650

GASKET

3

01010-81235

BOLT

3

01010-51235

BOLT

4

01643-31232

WASHER

5

209-03-51251

HOSE

5

209-03-51250

HOSE

6

07289-00105

CLAMP

6

205-09-61110

CLAMP

7

21T-03-71340

TUBE

8

6212-61-6821

GASKET

8

6212-61-6820

GASKET

9

01010-81035

BOLT

9

01010-51035

BOLT

10

01643-31032

WASHER

11

154-979-2410

JOINT

12

21T-03-71270

ELBOW

13

09483-10516

HOSE

14

09483-10520

HOSE

15

07281-00259

CLAMP

16

421-07-11550

CLIP

17

01010-81220

BOLT

17

01010-51220

BOLT

18

01643-31232

WASHER

19

07730-40004

VALVE

Выбрано товаров: 26