Запчасти Komatsu PC1600-1 КОНТРОЛЬ ХОДА МЕХАНИЗМ КАБИНА ОПЕРАТОРА И СИСТЕМА УПРАВЛЕНИЯ

Схема запчастей Komatsu PC1600-1 - КОНТРОЛЬ ХОДА МЕХАНИЗМ КАБИНА ОПЕРАТОРА И СИСТЕМА УПРАВЛЕНИЯ
FIT
1:1
100%

Артикул

Название

Примечание

Количество

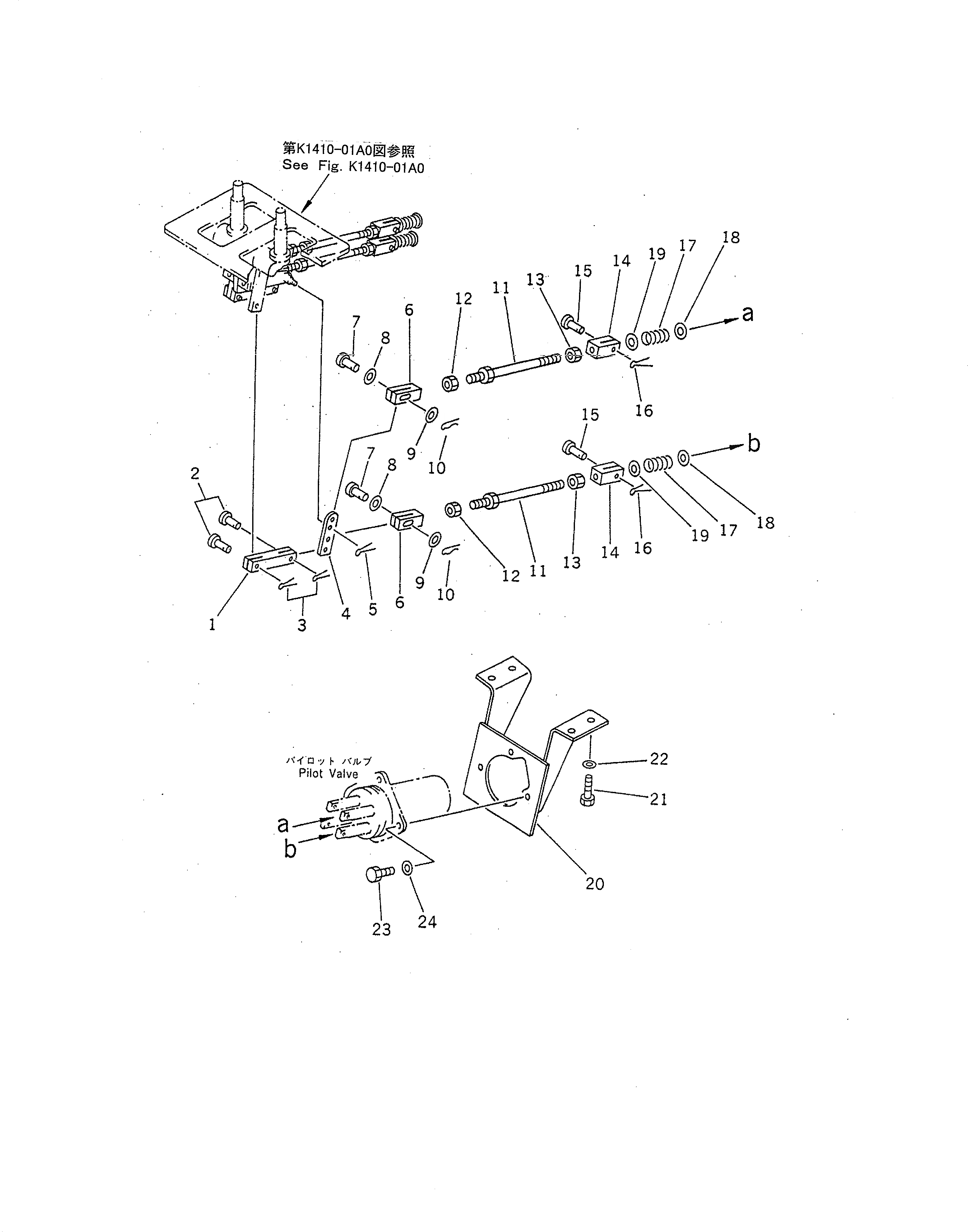
1

101-75-31870

YOKE

2

04205-10822

PIN

3

04050-12015

PIN,COTTER

4

209-43-51540

LEVER

5

04050-12015

PIN,COTTER

6

205-43-72910

YOKE

7

04205-30825

PIN

8

01641-20812

WASHER

9

01643-30823

WASHER

10

04052-10833

PIN,SNAP

11

04248-30815

ROD

12

01508-20805

NUT

13

01580-10806

NUT

14

205-43-72890

YOKE

15

04205-10622

PIN

16

04050-11612

PIN,COTTER

17

205-43-73220

SPRING

18

198-03-17390

SPACER

19

01641-21423

WASHER

20

209-43-51190

BRACKET

21

01010-81225

BOLT

22

01643-31232

WASHER

23

01010-80825

BOLT

23

01010-50825

BOLT

24

01643-30823

WASHER

Выбрано товаров: 0