Запчасти Komatsu PC1600-1 ПРАВ. КРЫШКА(РАМА И ДВЕРЬ) ЧАСТИ КОРПУСА

Схема запчастей Komatsu PC1600-1 - ПРАВ. КРЫШКА(РАМА И ДВЕРЬ) ЧАСТИ КОРПУСА
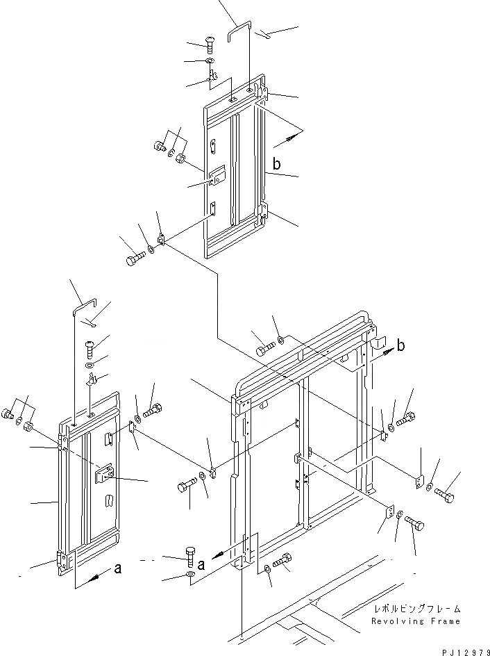
1
2
2
3
3
4
4
5
5
6
6
7
7
8
9
9
10
11
12
13
13
14
15
16
16
17
17
18
18
19
19
20
20
21
21
22
22
23
23
24
24
25
25
26
27
FIT
1:1
100%

Артикул

Название

Примечание

Количество

1

21T-54-74741

FRAME

1

21T-54-74740

FRAME

1

21T-54-74150

FRAME

2

21T-54-73210

PLATE

3

01010-81025

BOLT

3

01010-51025

BOLT

4

01643-31032

WASHER

5

205-54-51970

DOVE TAIL

6

01010-80616

BOLT

6

01010-50616

BOLT

7

01643-30623

WASHER

8

21T-54-73180

DOOR,R.H.

9

21T-54-73190

HINGE (WELDED)

10

421-54-11372

LOCK ASS'Y (WELDED)

11

421-54-11381

LOCK

12

21T-54-73170

DOOR,L.H.

13

21T-54-73190

HINGE (WELDED)

14

421-54-11362

LOCK ASS'Y (WELDED)

15

421-54-11381

LOCK

16

205-54-53550

DOVE TAIL

17

01010-80616

BOLT

17

01010-50616

BOLT

18

01643-30623

WASHER

19

20B-54-12210

SPRING

20

01220-40408

SCREW

21

01641-20405

WASHER

22

205-54-64140

BAR

23

04050-13018

PIN,COTTER

24

01010-81230

BOLT

24

01010-51230

BOLT

25

01643-31232

WASHER

26

01010-81230

BOLT

26

01010-51230

BOLT

27

01643-31232

WASHER

Выбрано товаров: 34