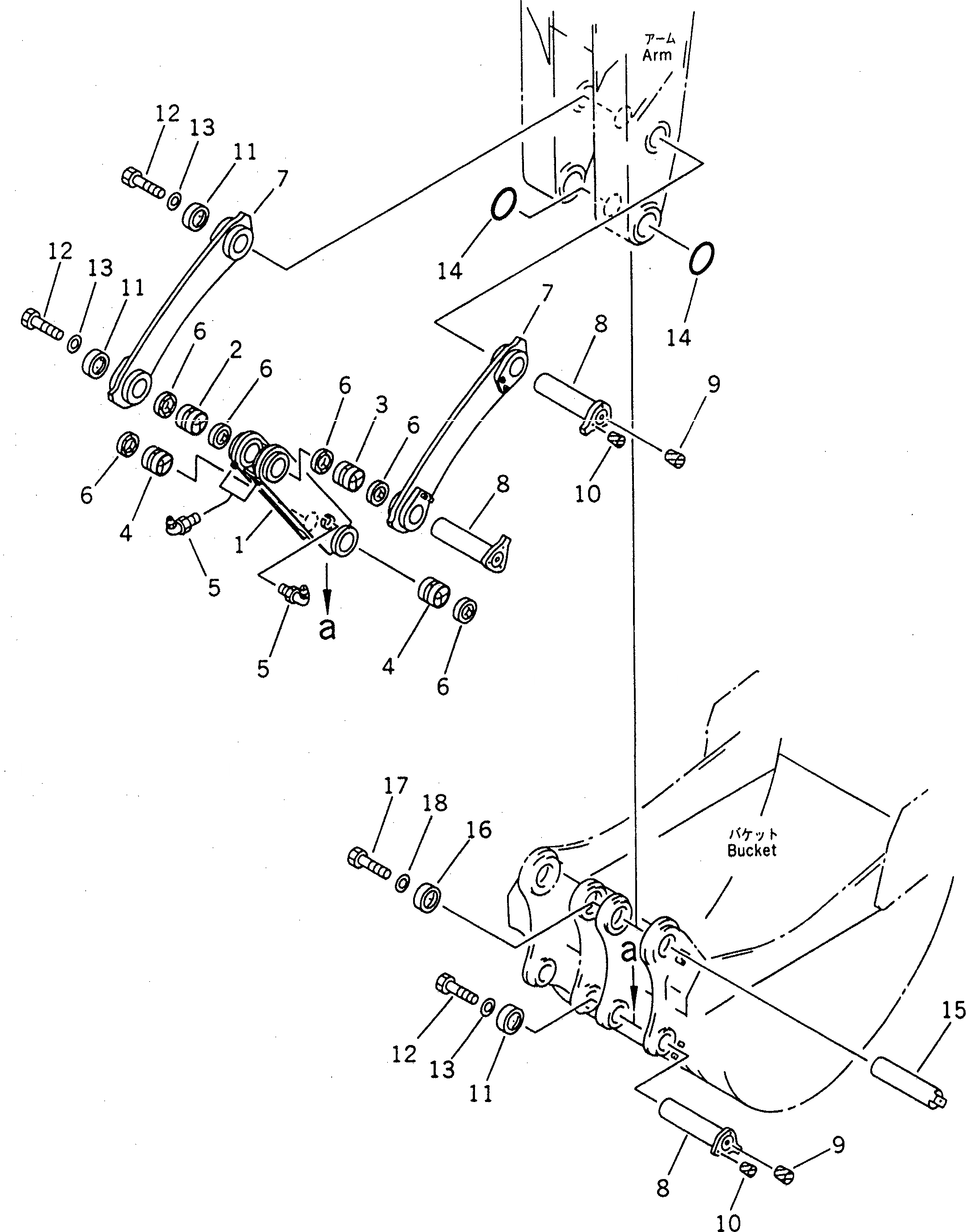
Запчасти Komatsu PC1600-1 СОЕДИНИТЕЛЬН. ЗВЕНО (ДЛЯ ЭКСКАВАТ.) РАБОЧЕЕ ОБОРУДОВАНИЕ

Схема запчастей Komatsu PC1600-1 - СОЕДИНИТЕЛЬН. ЗВЕНО (ДЛЯ ЭКСКАВАТ.) РАБОЧЕЕ ОБОРУДОВАНИЕ
FIT
1:1
100%

Артикул

Название

Примечание

Количество

G-1

21T-70-X3100

LINK GROUP

|$3

21T-70-00090

LINK ASS'Y,L.H.

|$4

21T-70-00100

LINK ASS'Y,R.H.

1

LINK,L.H.

1

LINK,R.H.

2

21T-70-73170

BUSHING

3

21T-70-73160

BUSHING

4

209-72-11251

BUSHING

5

07020-00675

FITTING,GREASE

6

209-72-11261

SEAL

7

21T-70-73220

LINK

G-2

21T-70-X3200

PIN GROUP

8

21T-70-73130

PIN

9

07049-04253

PLUG

10

07049-02430

PLUG

11

21T-72-73170

STOPPER

12

01010-81645

BOLT

12

01010-51645

BOLT

13

01643-31645

WASHER

14

21N-70-13150

O-RING

15

21T-70-73141

PIN

16

21T-72-73170

STOPPER

17

01010-81645

BOLT

17

01010-51645

BOLT

18

01643-31645

WASHER

Выбрано товаров: 25