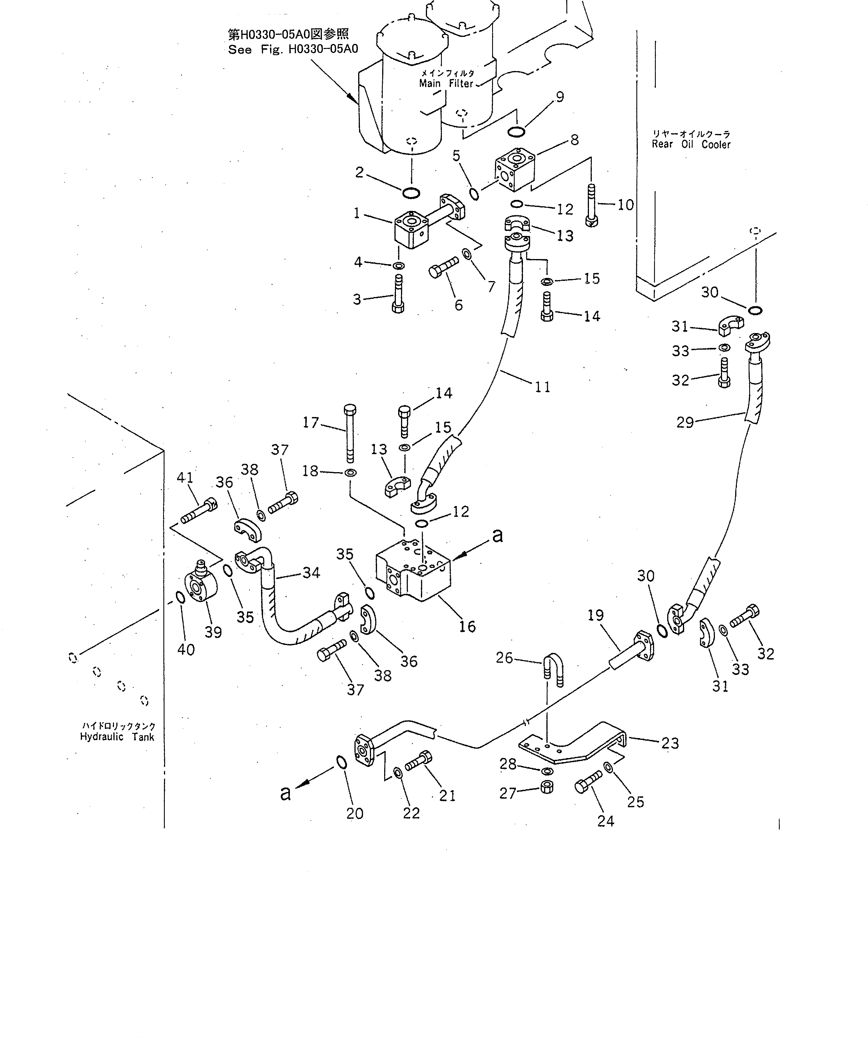
Запчасти Komatsu PC1600-1 ЛИНИИ МАСЛООХЛАДИТЕЛЯ¤ ЗАДН. (/) ГИДРАВЛИКА

Схема запчастей Komatsu PC1600-1 - ЛИНИИ МАСЛООХЛАДИТЕЛЯ¤ ЗАДН. (/) ГИДРАВЛИКА
FIT
1:1
100%

Артикул

Название

Примечание

Количество

1

21T-62-76620

TUBE

2

07000-12065

O-RING

|2

07000-02065

O-RING

3

01010-81290

BOLT

4

01643-31232

WASHER

5

07000-13045

O-RING

|5

07000-03045

O-RING

6

07372-21240

BOLT

7

01643-51232

WASHER

8

21T-62-76121

BLOCK

9

07000-12065

O-RING

|9

07000-02065

O-RING

10

01252-41295

BOLT

11

07297-01410

HOSE

12

07000-13048

O-RING

|12

07000-03048

O-RING

13

07371-31465

FLANGE,SPLIT

14

07372-21240

BOLT

15

01643-51232

WASHER

16

21T-60-72102

VALVE ASS'Y,(SEE FIG.H0320-01A0)

|16

21T-60-72101

VALVE ASS'Y,(SEE FIG.H0320-01A0)

17

01011-81220

BOLT

|17

01011-51220

BOLT

18

01643-31232

WASHER

19

21T-62-76650

TUBE

20

07000-13045

O-RING

|20

07000-03045

O-RING

21

07372-21240

BOLT

22

01643-51232

WASHER

23

21T-62-76671

BRACKET

|23

21T-62-76670

BRACKET

24

01010-81230

BOLT

25

175-54-34170

WASHER

26

07283-34346

CLIP

27

01599-01011

NUT

28

01643-31032

WASHER

29

07297-01410

HOSE

30

07000-13048

O-RING

|30

07000-03048

O-RING

31

07371-31465

FLANGE,SPLIT

32

07372-21240

BOLT

33

01643-51232

WASHER

34

07298-01408

HOSE

35

07000-13048

O-RING

|35

07000-03048

O-RING

36

07371-31465

FLANGE,SPLIT

37

07372-21240

BOLT

38

01643-51232

WASHER

39

21T-62-77181

BLOCK

40

07000-13048

O-RING

|40

07000-03048

O-RING

41

01252-41255

BOLT

Выбрано товаров: 52