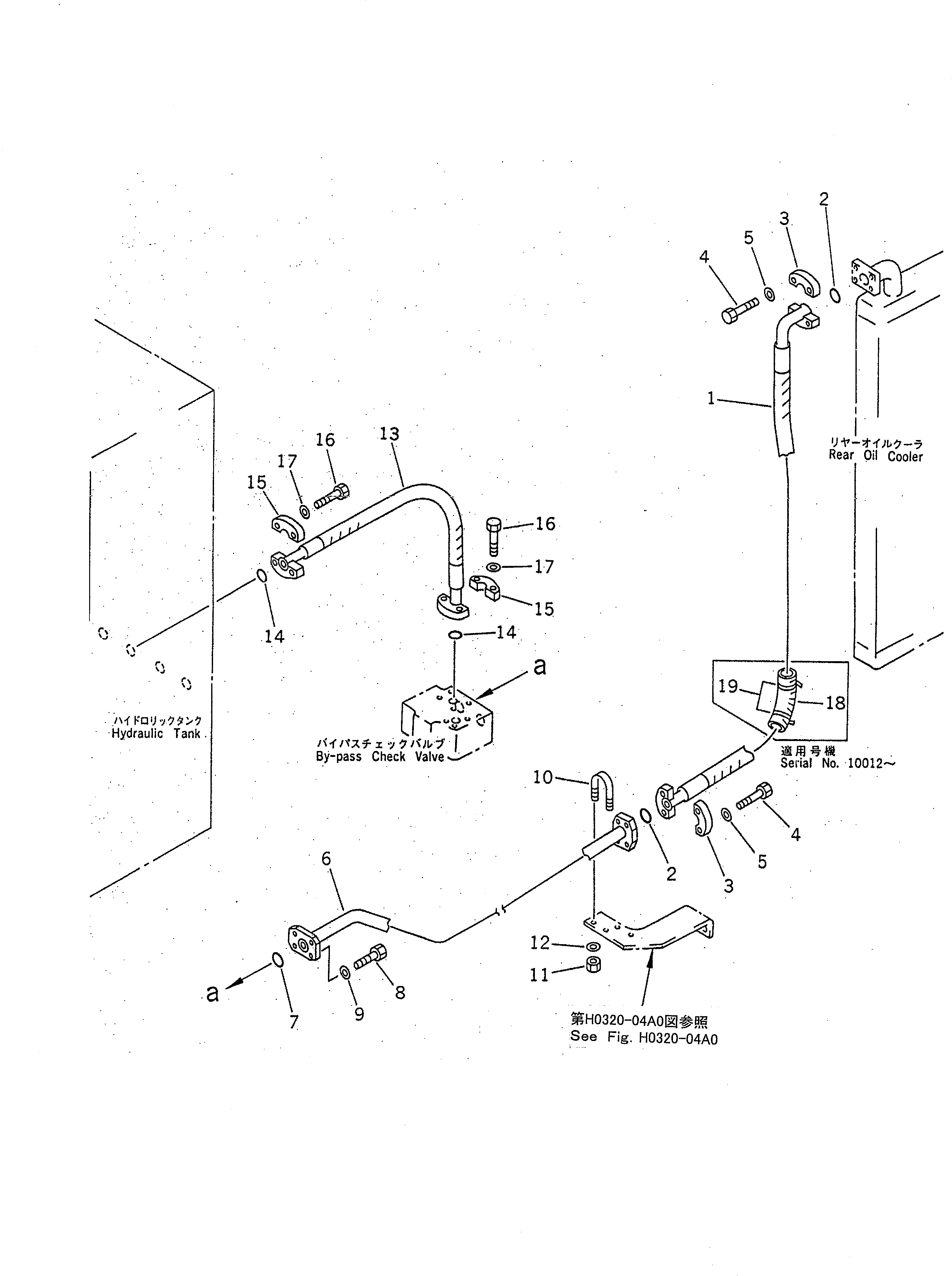
Запчасти Komatsu PC1600-1 ЛИНИИ МАСЛООХЛАДИТЕЛЯ¤ ЗАДН. (/) ГИДРАВЛИКА

Схема запчастей Komatsu PC1600-1 - ЛИНИИ МАСЛООХЛАДИТЕЛЯ¤ ЗАДН. (/) ГИДРАВЛИКА
FIT
1:1
100%

Артикул

Название

Примечание

Количество

1

07298-21425

HOSE

2

07000-13048

O-RING

|2

07000-03048

O-RING

3

07371-31465

FLANGE,SPLIT

4

07372-21240

BOLT

5

01643-51232

WASHER

6

21T-62-76661

TUBE

|6

21T-62-76660

TUBE

7

07000-13045

O-RING

|7

07000-03045

O-RING

8

07372-21240

BOLT

9

01643-51232

WASHER

10

07283-34346

CLIP

11

01599-01011

NUT

12

01643-31032

WASHER

13

07296-01410

HOSE

14

07000-13048

O-RING

|14

07000-03048

O-RING

15

07371-31465

FLANGE,SPLIT

16

07372-21240

BOLT

17

01643-51232

WASHER

18

07260-05836

HOSE

|18

07260-05822

HOSE

19

07289-00070

CLAMP

|19

208-09-11120

CLAMP

Выбрано товаров: 25