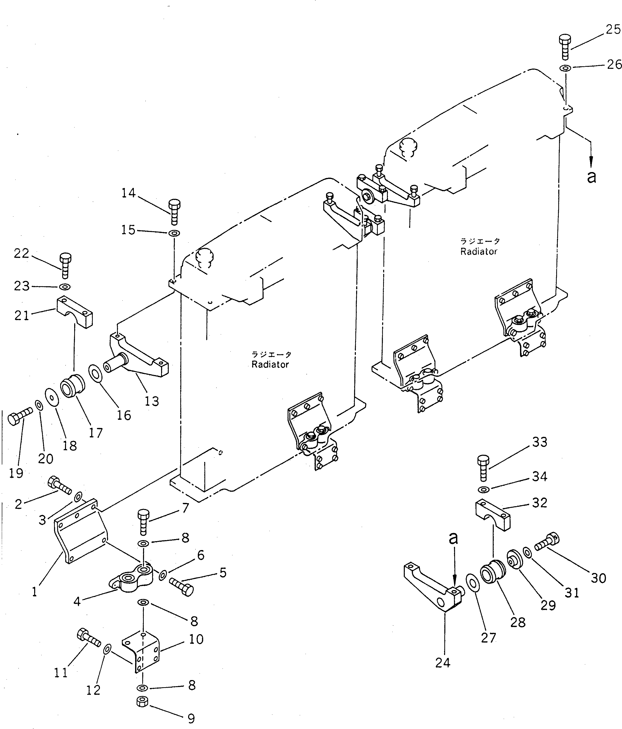
Запчасти Komatsu PC1600-1 КРЕПЛЕНИЕ РАДИАТОРА СИСТЕМА ОХЛАЖДЕНИЯ

Схема запчастей Komatsu PC1600-1 - КРЕПЛЕНИЕ РАДИАТОРА СИСТЕМА ОХЛАЖДЕНИЯ
FIT
1:1
100%

Артикул

Название

Примечание

Количество

1

209-03-21290

SEAT

2

01010-81240

BOLT

|2

01010-51240

BOLT

3

01643-31232

WASHER

4

195-03-22501

ISOLATOR ASS'Y

5

01010-81240

BOLT

|5

01010-51240

BOLT

6

01643-31232

WASHER

7

01091-52205

BOLT

8

01643-32260

WASHER

9

01582-12218

NUT

10

21T-03-71210

BRACKET

11

01010-81240

BOLT

|11

01010-51240

BOLT

12

175-54-34170

WASHER

13

21T-03-71230

BRACKET

14

01010-81865

BOLT

|14

01010-51865

BOLT

15

01643-31845

WASHER

16

198-03-51230

PLATE

17

195-03-41440

CUSHION

18

195-03-41260

PLATE

19

01010-81630

BOLT

|19

01010-51630

BOLT

20

01643-31645

WASHER

21

209-03-51160

CLAMP

22

01010-82090

BOLT

|22

01010-52090

BOLT

23

01643-32060

WASHER

24

21T-03-71240

BRACKET

25

01010-81865

BOLT

|25

01010-51865

BOLT

26

01643-31845

WASHER

27

198-03-51230

PLATE

28

195-03-41440

CUSHION

29

21T-03-71130

HOLDER

30

01252-31630

BOLT

31

01643-31645

WASHER

32

209-03-51160

CLAMP

33

01010-82090

BOLT

34

01643-32060

WASHER

Выбрано товаров: 41