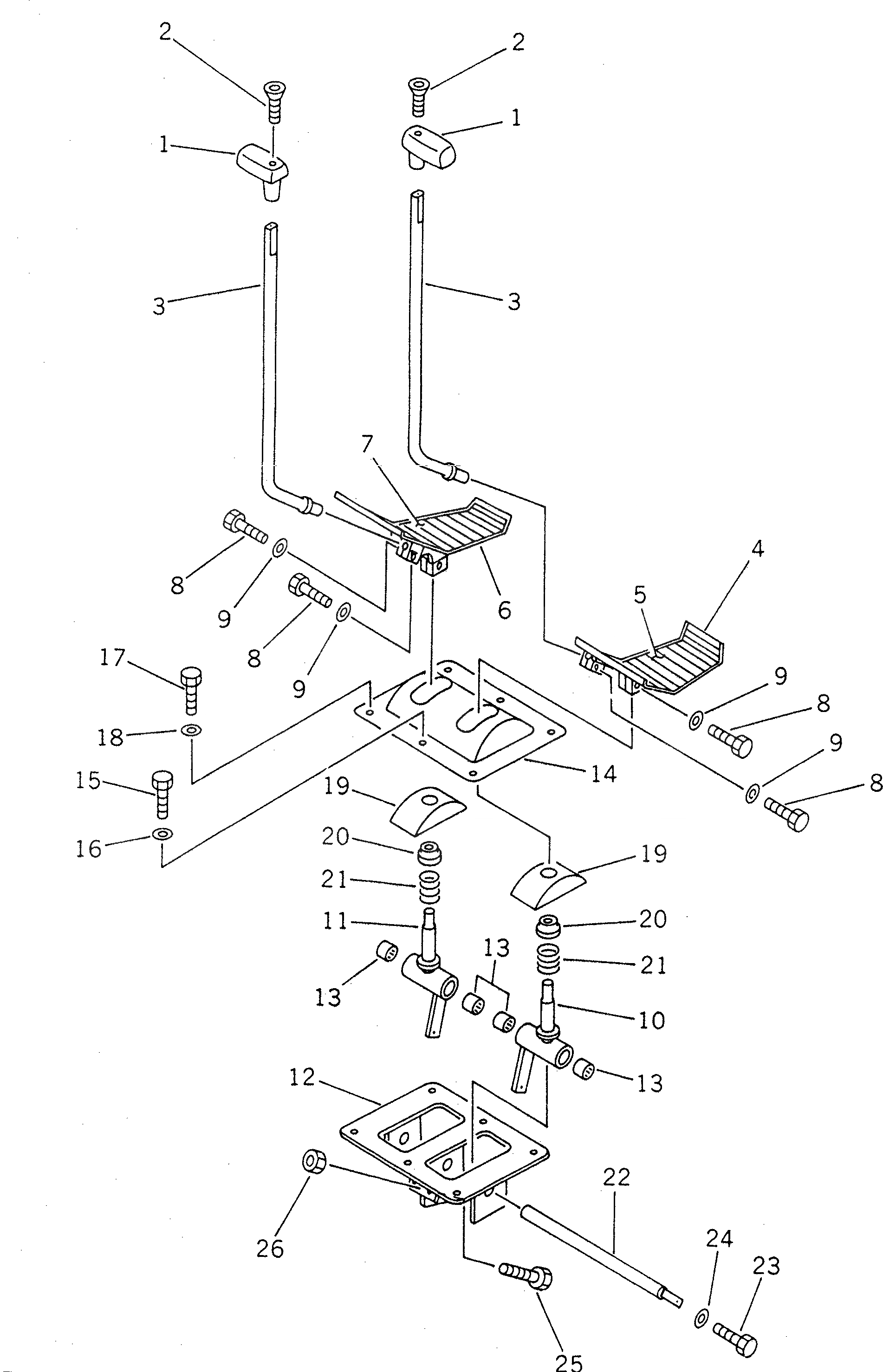
Запчасти Komatsu PC1600-1 РЫЧАГ УПРАВЛ-Я ХОДОМ И ПЕДАЛЬ КАБИНА ОПЕРАТОРА И СИСТЕМА УПРАВЛЕНИЯ

Схема запчастей Komatsu PC1600-1 - РЫЧАГ УПРАВЛ-Я ХОДОМ И ПЕДАЛЬ КАБИНА ОПЕРАТОРА И СИСТЕМА УПРАВЛЕНИЯ
FIT
1:1
100%

Артикул

Название

Примечание

Количество

1

203-43-41340

KNOB

2

207-09-11130

SCREW

3

21T-43-71620

LEVER

4

21T-43-71630

PEDAL,L.H.

5

21T-43-71650

SEAT

6

21T-43-71640

PEDAL,R.H.

7

21T-43-71660

SEAT

8

01010-80825

BOLT

|8

01010-50825

BOLT

9

01643-30823

WASHER

10

209-43-51520

LEVER,L.H.

11

209-43-51530

LEVER,R.H.

12

209-43-51510

BRACKET

13

195-61-34130

BEARING

14

205-43-71590

COVER

15

01010-81016

BOLT

|15

01010-51016

BOLT

16

01643-31032

WASHER

17

195-54-43210

BOLT

18

198-54-42280

WASHER

19

20S-43-11230

COVER

20

203-43-41660

SPACER

21

09340-10130

SPRING

22

205-43-73280

SHAFT

23

01010-80616

BOLT

|23

01010-50616

BOLT

24

01643-30623

WASHER

25

01016-81025

BOLT

|25

01016-51025

BOLT

26

01580-11008

NUT

Выбрано товаров: 30