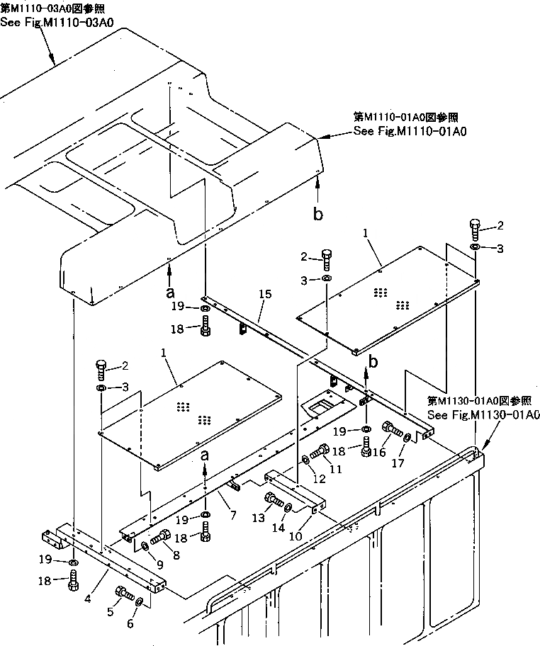
Запчасти Komatsu PC1600-1 КРЫШКА(ВЕРХН. ЛЕВ.) ЧАСТИ КОРПУСА

Схема запчастей Komatsu PC1600-1 - КРЫШКА(ВЕРХН. ЛЕВ.) ЧАСТИ КОРПУСА
FIT
1:1
100%

Артикул

Название

Примечание

Количество

1

21T-54-73411

COVER

|1

21T-54-73410

COVER

2

01010-81230

BOLT

|2

01010-51230

BOLT

3

175-54-34170

WASHER

4

21T-54-73781

BRACKET

5

01010-81230

BOLT

6

01643-31232

WASHER

7

21T-54-73381

BRACKET

8

01010-81230

BOLT

|8

01010-51230

BOLT

9

01643-31232

WASHER

10

21T-54-73340

BRACKET

11

01010-81230

BOLT

|11

01010-51230

BOLT

12

01643-31232

WASHER

13

01010-81230

BOLT

14

01643-31232

WASHER

15

21T-54-73291

BRACKET

16

01010-81230

BOLT

|16

01010-51230

BOLT

17

01643-31232

WASHER

18

01010-81230

BOLT

|18

01010-51230

BOLT

19

01643-31232

WASHER

|19

01643-31232

WASHER

Выбрано товаров: 26