Запчасти Komatsu PC1600-1 РУКОЯТЬ (ДЛЯ ПОГРУЗ.) РАБОЧЕЕ ОБОРУДОВАНИЕ

Схема запчастей Komatsu PC1600-1 - РУКОЯТЬ (ДЛЯ ПОГРУЗ.) РАБОЧЕЕ ОБОРУДОВАНИЕ
FIT
1:1
100%

Артикул

Название

Примечание

Количество

G-1

21T-72-X1000

WORK EQUIPMENT GROUP

|1

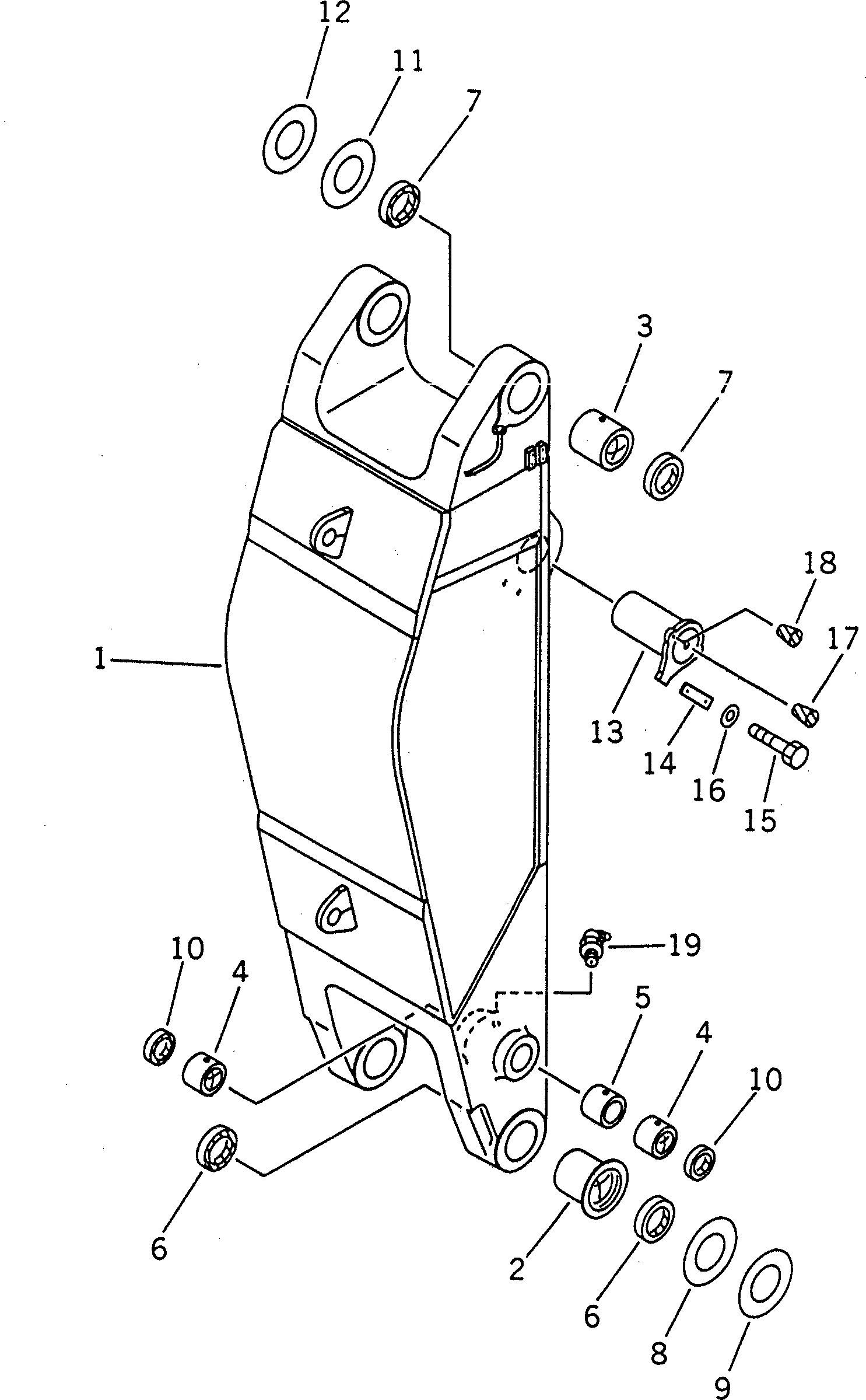
21T-72-00120

ARM ASS'Y

1

ARM

2

21T-72-72180

BUSHING

3

21T-72-71230

BUSHING

4

21T-72-72160

BUSHING

5

21T-72-72170

SPACER

6

21T-72-71240

SEAL

7

21T-72-71240

SEAL

8

21T-72-71260

SHIM¤ 1.0MM

9

21T-72-71270

SHIM¤ 1.5MM

10

209-72-11261

SEAL

11

21T-72-71260

SHIM¤ 1.0MM

12

21T-72-71270

SHIM¤ 1.5MM

13

21T-72-71210

PIN

14

207-70-11230

PLATE

15

01010-81645

BOLT

|15

01010-51645

BOLT

16

01643-31645

WASHER

17

07049-03038

PLUG

18

07049-01620

PLUG

19

07020-00900

FITTING

Выбрано товаров: 22