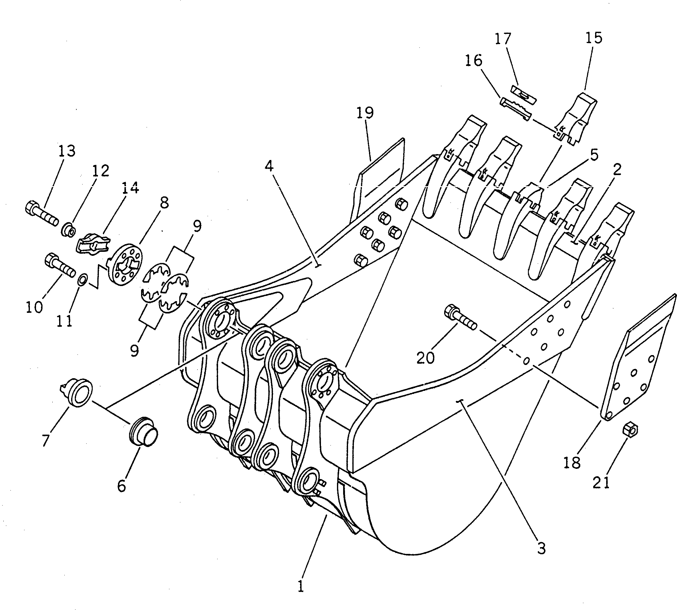
Запчасти Komatsu PC1600-1 КОВШ¤ 7.M¤ ШИР. 99MM (ДЛЯ ЭКСКАВАТ.) РАБОЧЕЕ ОБОРУДОВАНИЕ

Схема запчастей Komatsu PC1600-1 - КОВШ¤ 7.M¤ ШИР. 99MM (ДЛЯ ЭКСКАВАТ.) РАБОЧЕЕ ОБОРУДОВАНИЕ
FIT
1:1
100%

Артикул

Название

Примечание

Количество

G-1

21T-70-X4100

BUCKET GROUP

|1

21T-70-00110

BUCKET ASS'Y

1

BUCKET

2

21T-70-74140

PLATE (WELDED)

3

21T-70-74120

PLATE,L.H. (WELDED)

4

21T-70-74130

PLATE,R.H. (WELDED)

5

21T-70-14190

ADAPTER (WELDED)

6

21T-70-74280

BUSHING

7

21N-70-14220

BUSHING

8

21T-70-74251

COVER

9

21T-70-00050

SHIM ASS'Y

|9

SHIM¤ 1.0MM

|9

SHIM¤ 0.5MM

10

01011-83615

BOLT

11

01643-33690

WASHER

12

21T-70-74310

COLLAR

13

01010-83070

BOLT

14

21T-70-74290

COVER

G-2

21N-70-X4300

TOOTH GROUP

15

21T-72-14480

POINT

16

21T-72-14460

PIN

17

21T-72-14470

LOCK

G-3

21T-70-X4200

SIDE CUTTER GROUP

18

21T-70-14140

CUTTER,L.H.

19

21T-70-14150

CUTTER,R.H.

20

21T-70-14160

BOLT

21

21T-70-14170

NUT

Выбрано товаров: 27