Запчасти Komatsu PC1600-1 КОВШ¤ 9.M¤ ШИР. 8MM (ГОРИЗОНТАЛЬН. ПАЛЕЦ) (ДЛЯ ЭКСКАВАТ.)(№-) РАБОЧЕЕ ОБОРУДОВАНИЕ

Схема запчастей Komatsu PC1600-1 - КОВШ¤ 9.M¤ ШИР. 8MM (ГОРИЗОНТАЛЬН. ПАЛЕЦ) (ДЛЯ ЭКСКАВАТ.)(№-) РАБОЧЕЕ ОБОРУДОВАНИЕ
FIT
1:1
100%

Артикул

Название

Примечание

Количество

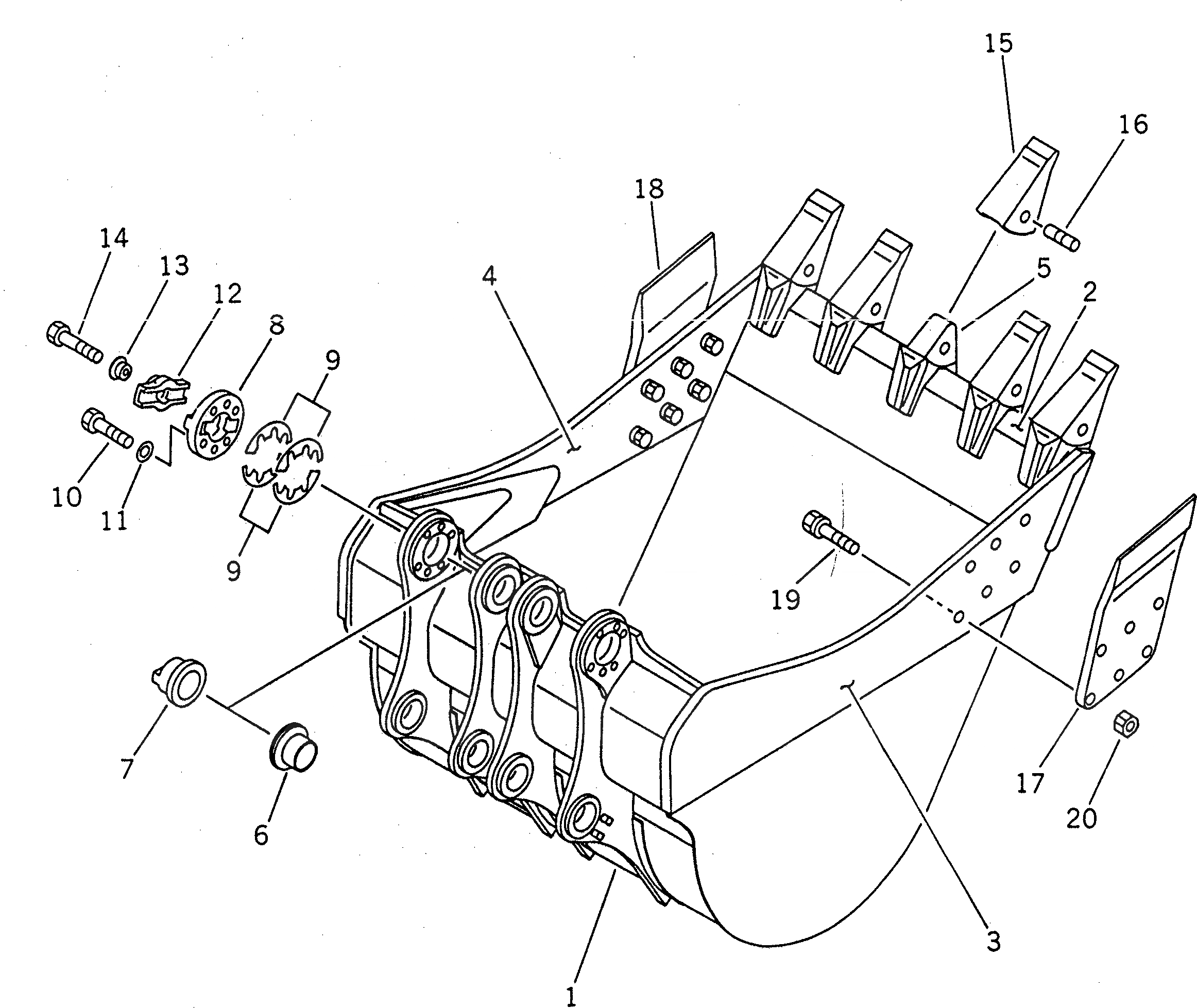
G-1

21T-920-X110

BUCKET GROUP

|1

21T-920-0010

BUCKET ASS'Y

1

BUCKET

2

21T-70-74170

PLATE (WELDED)

3

21T-70-74180

PLATE,L.H. (WELDED)

4

21T-70-74190

PLATE,R.H. (WELDED)

5

21T-70-74160

ADAPTER (WELDED)

6

21T-70-74280

BUSHING

7

21N-70-14220

BUSHING

8

21T-70-74251

COVER

9

21T-70-00050

SHIM ASS'Y

|9

SHIM¤ 1.0MM

|9

SHIM¤ 0.5MM

10

01011-83615

BOLT

11

01643-33690

WASHER

12

21T-70-74290

COVER

13

21T-70-74310

COLLAR

14

01010-83070

BOLT

G-2

21T-70-X5300

TOOTH GROUP

15

21T-72-74310

POINT

16

21T-72-74320

PIN ASS'Y

G-3

21T-70-X4200

SIDE CUTTER GROUP

17

21T-70-14140

CUTTER,L.H.

18

21T-70-14150

CUTTER,R.H.

19

21T-70-14160

BOLT

20

21T-70-14170

NUT

Выбрано товаров: 0