Запчасти Komatsu PC1600-1 СМАЗ. GUN КОМПОНЕНТЫ РАЗНОЕ

Схема запчастей Komatsu PC1600-1 - СМАЗ. GUN КОМПОНЕНТЫ РАЗНОЕ
FIT
1:1
100%

Артикул

Название

Примечание

Количество

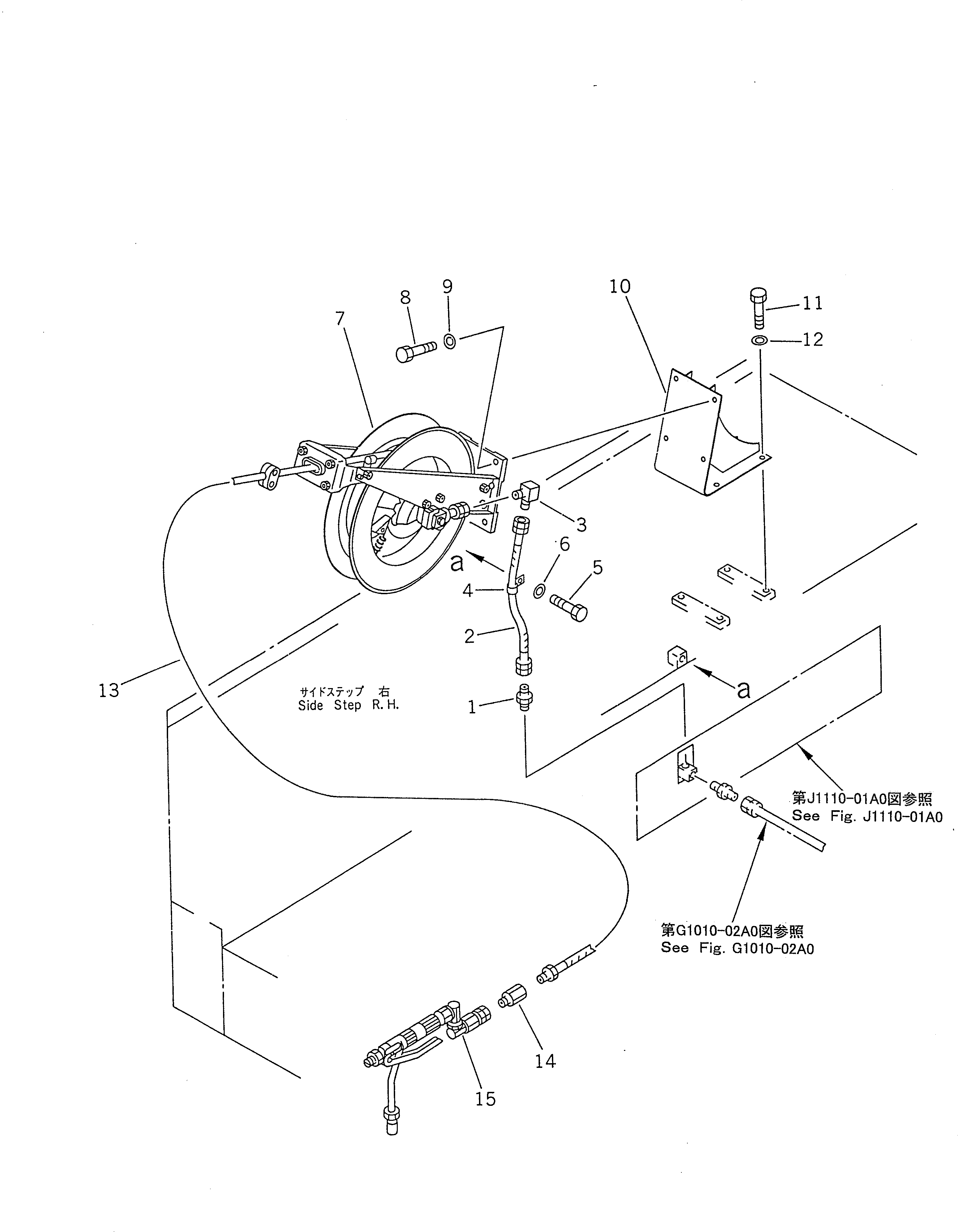
1

21T-72-17690

ADAPTER

2

21T-72-17720

HOSE

|2

21T-68-72440

HOSE

|2

21T-72-17720

HOSE

3

21T-68-72390

ELBOW

4

08036-01214

CLIP

5

01010-81225

BOLT

6

01643-31232

WASHER

7

209-68-51240

HOSE REEL ASS'Y

8

01010-81030

BOLT

9

01643-31032

WASHER

10

21T-68-72410

BRACKET

11

01010-81225

BOLT

12

01643-31232

WASHER

13

21T-68-72450

HOSE

|13

209-68-11242

HOSE

14

20S-01-11210

NIPPLE

15

209-68-11230

GREASE GUN ASS'Y

Выбрано товаров: 18