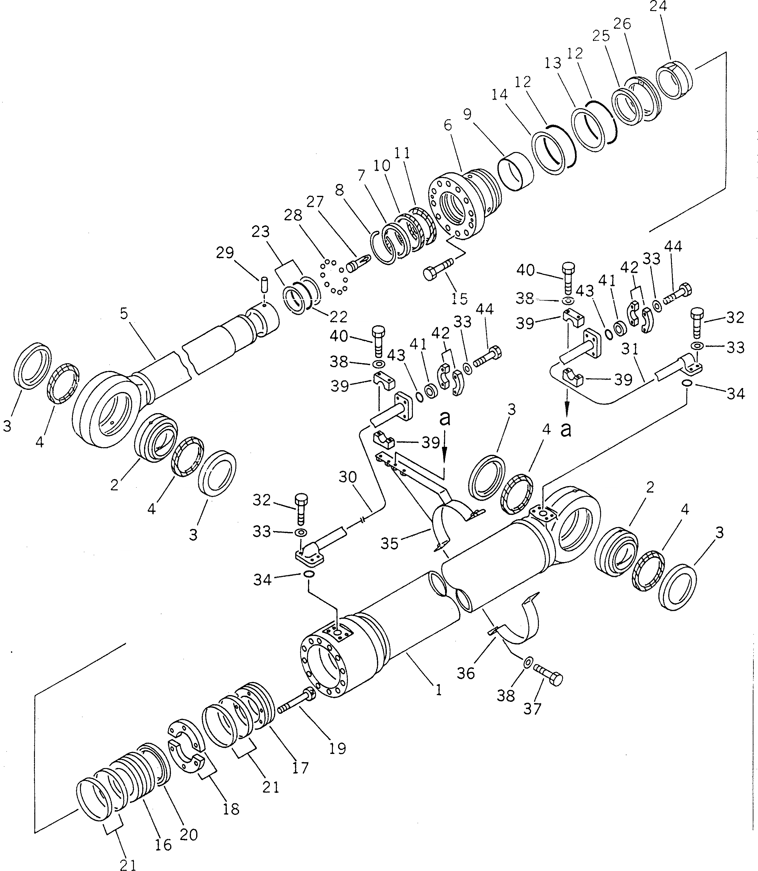
Запчасти Komatsu PC1600-1 ЦИЛИНДР КОВША (ДЛЯ ПОГРУЗ.) ОСНОВН. КОМПОНЕНТЫ И РЕМКОМПЛЕКТЫ

Схема запчастей Komatsu PC1600-1 - ЦИЛИНДР КОВША (ДЛЯ ПОГРУЗ.) ОСНОВН. КОМПОНЕНТЫ И РЕМКОМПЛЕКТЫ
FIT
1:1
100%

Артикул

Название

Примечание

Количество

G-1

21T-63-X3050

CYLINDER GROUP,L.H.

G-1

21T-63-X3060

CYLINDER GROUP,R.H.

|1

21T-63-03050

CYLINDER ASS'Y

1

21T-63-74140

CYLINDER

2

707-46-14010

BUSHING

3

21T-72-15860

BUSHING

4

21T-72-15870

SEAL,DUST

5

21T-63-74120

ROD

6

707-28-22530

HEAD

7

07016-21600

SEAL,DUST

8

07179-14180

RING,SNAP

9

707-52-11610

BUSHING

10

707-51-16130

PACKING

11

707-51-16630

RING

12

07000-15220

O-RING

13

07001-05220

RING,BACK-UP

14

707-35-92300

RING,BACK-UP

15

01010-83095

BOLT

16

707-36-22210

PISTON

17

707-36-22220

PISTON

18

707-40-22960

SPACER

19

01253-31605

BOLT

20

707-44-22280

RING,PISTON

21

707-39-22820

RING,WEAR

22

07000-15135

O-RING

23

707-35-91440

RING,BACK-UP

24

707-71-51740

PLUNGER

25

707-71-11710

RING

26

707-71-31720

COLLAR

27

707-71-50400

PLUNGER

28

04260-01270

BALL

29

707-71-91380

PIN

30

21T-62-73612

TUBE,L.H.

|30

21T-62-73622

TUBE,R.H.

31

21T-62-73581

TUBE,L.H.

|31

21T-62-73591

TUBE,R.H.

32

01010-51450

BOLT

33

01643-31445

WASHER

34

07000-13048

O-RING

35

21T-62-73660

BRACKET,L.H.

|35

21T-62-73670

BRACKET,R.H.

36

21T-62-73680

BAND

37

01010-51250

BOLT

38

01643-31232

WASHER

39

176-61-41330

CLAMP

40

01010-51290

BOLT

41

07378-11410

HEAD

42

07371-51470

FLANGE

43

07000-13048

O-RING

44

01010-51455

BOLT

Выбрано товаров: 50