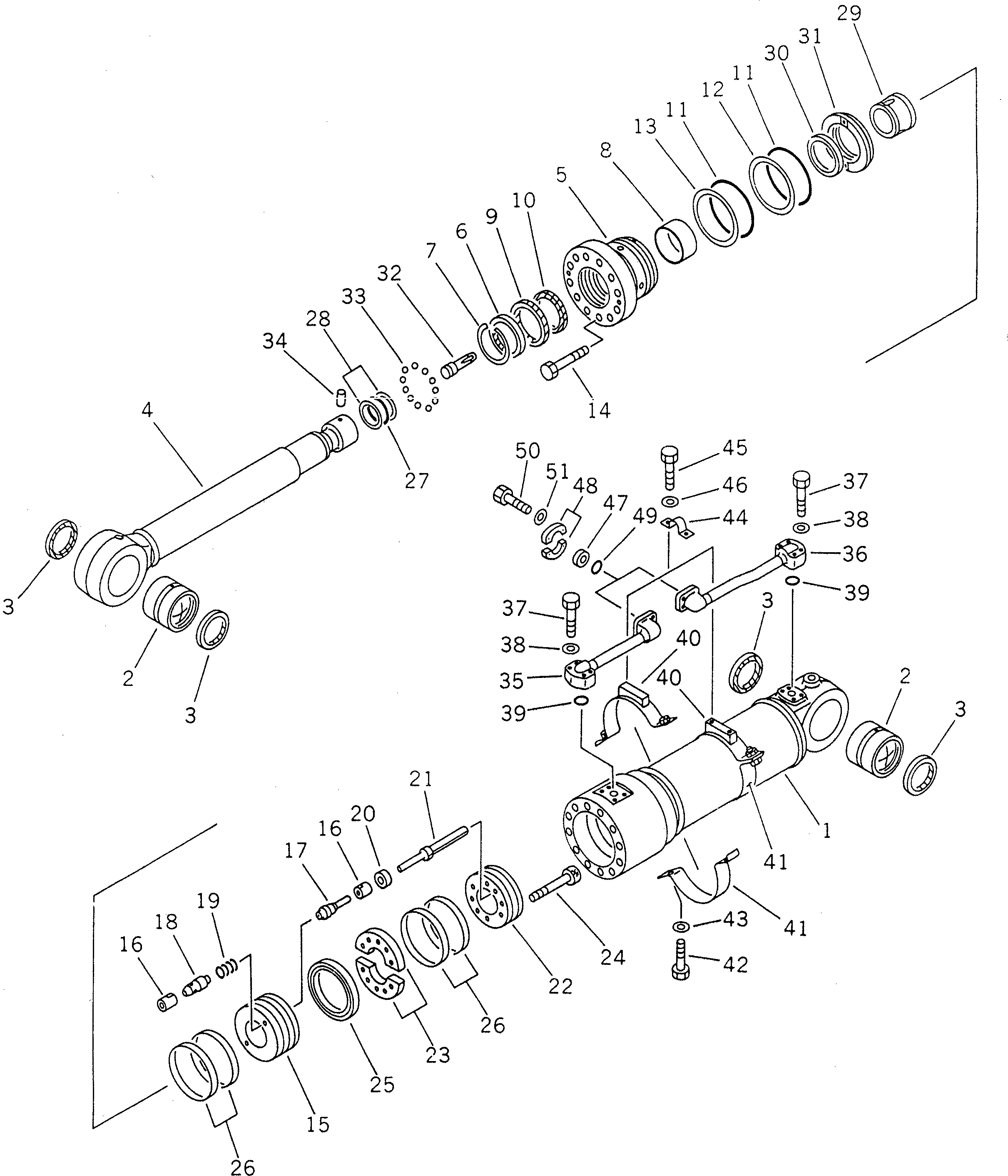
Запчасти Komatsu PC1600-1 НИЖН. ЦИЛИНДР ОСНОВН. КОМПОНЕНТЫ И РЕМКОМПЛЕКТЫ

Схема запчастей Komatsu PC1600-1 - НИЖН. ЦИЛИНДР ОСНОВН. КОМПОНЕНТЫ И РЕМКОМПЛЕКТЫ
FIT
1:1
100%

Артикул

Название

Примечание

Количество

G-1

21T-63-X3070

CYLINDER GROUP,L.H.

G-1

21T-63-X3080

CYLINDER GROUP,R.H.

|1

21T-63-03070

CYLINDER ASS'Y

1

21T-63-94140

CYLINDER

2

707-76-10150

BUSHING

3

07145-00100

SEAL,DUST

4

21T-63-94120

ROD

5

707-28-18410

HEAD

6

07016-21109

SEAL,DUST

7

07179-13126

RING,SNAP

8

707-52-11110

BUSHING

9

707-51-11130

PACKING

10

707-51-11630

RING

11

07000-15175

O-RING

12

07001-05175

RING,BACK-UP

13

707-35-91850

RING,BACK-UP

14

01010-82485

BOLT

|15

707-91-01851

PISTON SUB ASS'Y

15

PISTON

16

SEAT

17

VALVE

18

VALVE

19

SPRING

20

COLLAR

21

707-83-11110

ROD

22

707-37-18080

PISTON

23

707-40-18990

SPACER

24

01252-31490

BOLT

25

707-44-18180

RING,PISTON

26

707-39-18820

RING,WEAR

27

07000-12085

O-RING

28

07001-02085

RING,BACK-UP

29

707-71-51161

PLUNGER

30

707-71-11150

RING

31

707-71-31160

COLLAR

32

707-71-50351

PLUNGER

33

04260-00952

BALL

34

707-71-91330

PIN

35

21T-62-73842

TUBE,L.H.

|35

21T-62-73852

TUBE,R.H.

36

21T-62-73820

TUBE,L.H.

|36

21T-62-73830

TUBE,R.H.

37

01010-51060

BOLT

38

01643-31032

WASHER

39

07000-13035

O-RING

40

21T-62-73811

BRACKET

41

209-62-53150

BAND

42

01010-51240

BOLT

43

01643-31232

WASHER

44

07282-03411

CLAMP

45

01010-51020

BOLT

46

01643-31032

WASHER

47

07378-11000

HEAD

48

07371-31049

FLANGE

49

07000-13032

O-RING

50

07372-21035

BOLT

51

01643-51032

WASHER

Выбрано товаров: 57