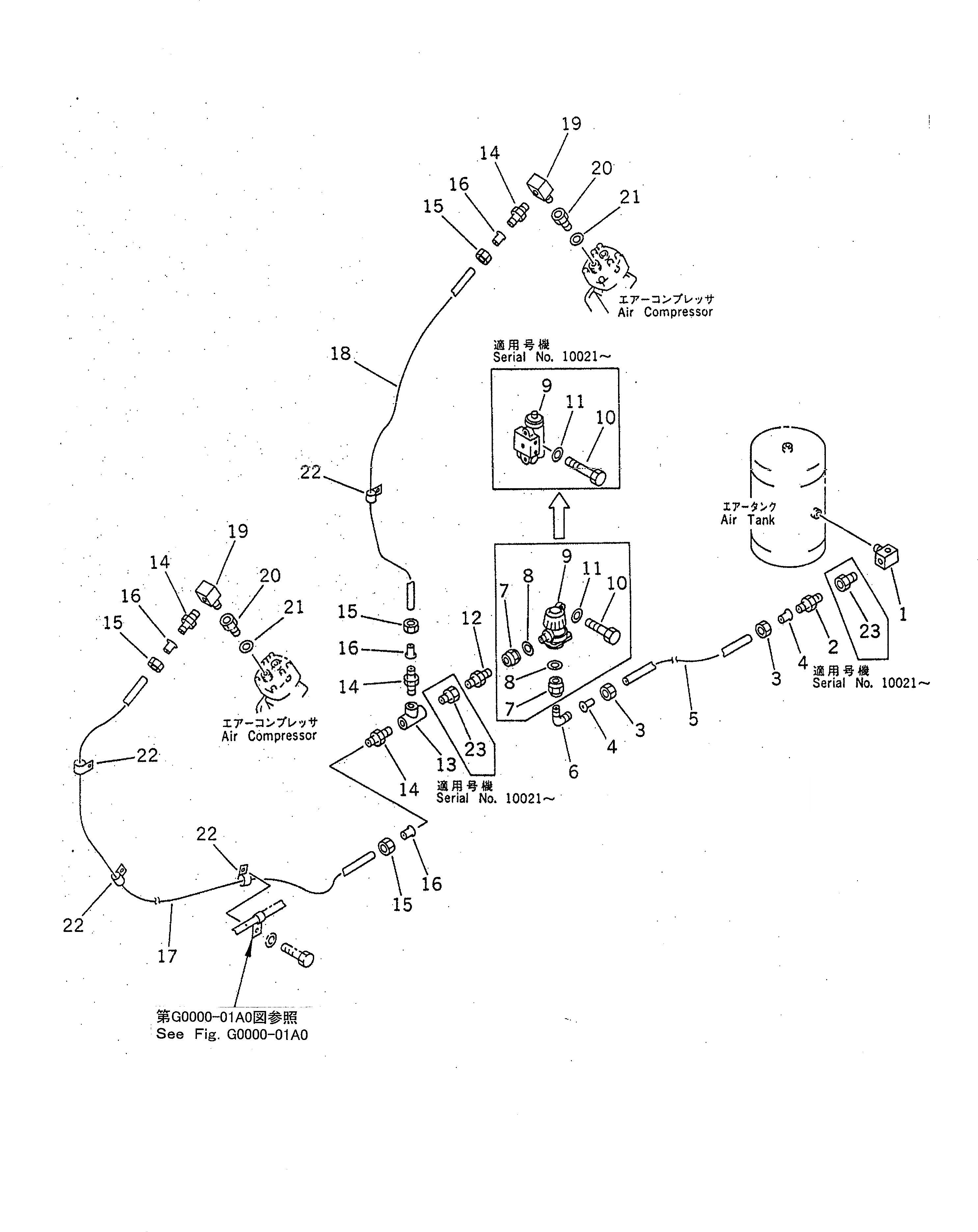
Запчасти Komatsu PC1600-1 ВОЗДУХОВОД (БАК - КОМПРЕССОР) ВОЗД. СИСТЕМА

Схема запчастей Komatsu PC1600-1 - ВОЗДУХОВОД (БАК - КОМПРЕССОР) ВОЗД. СИСТЕМА
FIT
1:1
100%

Артикул

Название

Примечание

Количество

1

209-68-51140

NIPPLE

2

07836-00410

CONNECTOR

|2

07836-00613

CONNECTOR

3

07832-00410

NUT

|3

07832-00614

NUT

4

07831-00411

SLEEVE

|4

07831-00612

SLEEVE

5

07822-00406

TUBE

|5

07822-00606

TUBE

6

07834-00410

ELBOW

|6

07834-00613

ELBOW

7

205-68-51190

ADAPTER

8

07003-11217

GASKET

9

500-44-14110

AIR GOVERNOR ASS'Y

|9

6131-81-3210

REGULATOR

10

01010-80875

BOLT

|10

01010-50875

BOLT

|10

01010-50825

BOLT

11

01643-30823

WASHER

12

07325-10100

NIPPLE

|12

07325-10200

NIPPLE

13

07324-10200

TEE

14

07836-00613

CONNECTOR

15

07832-00614

NUT

16

07831-00612

SLEEVE

17

07822-00623

TUBE

18

07822-00617

TUBE

19

560-44-14460

NIPPLE

20

209-68-51150

NIPPLE

21

07004-01525

GASKET

22

113-04-22180

CLIP

23

07326-10201

ADAPTER

Выбрано товаров: 32