Запчасти Komatsu PC1600SP-1 ВОЗВРАТ. ТРУБЫ (БЛОК - ФИЛЬТР.) (/)(№7-) ГИДРАВЛИКА

Схема запчастей Komatsu PC1600SP-1 - ВОЗВРАТ. ТРУБЫ (БЛОК - ФИЛЬТР.) (/)(№7-) ГИДРАВЛИКА
FIT
1:1
100%

Артикул

Название

Примечание

Количество

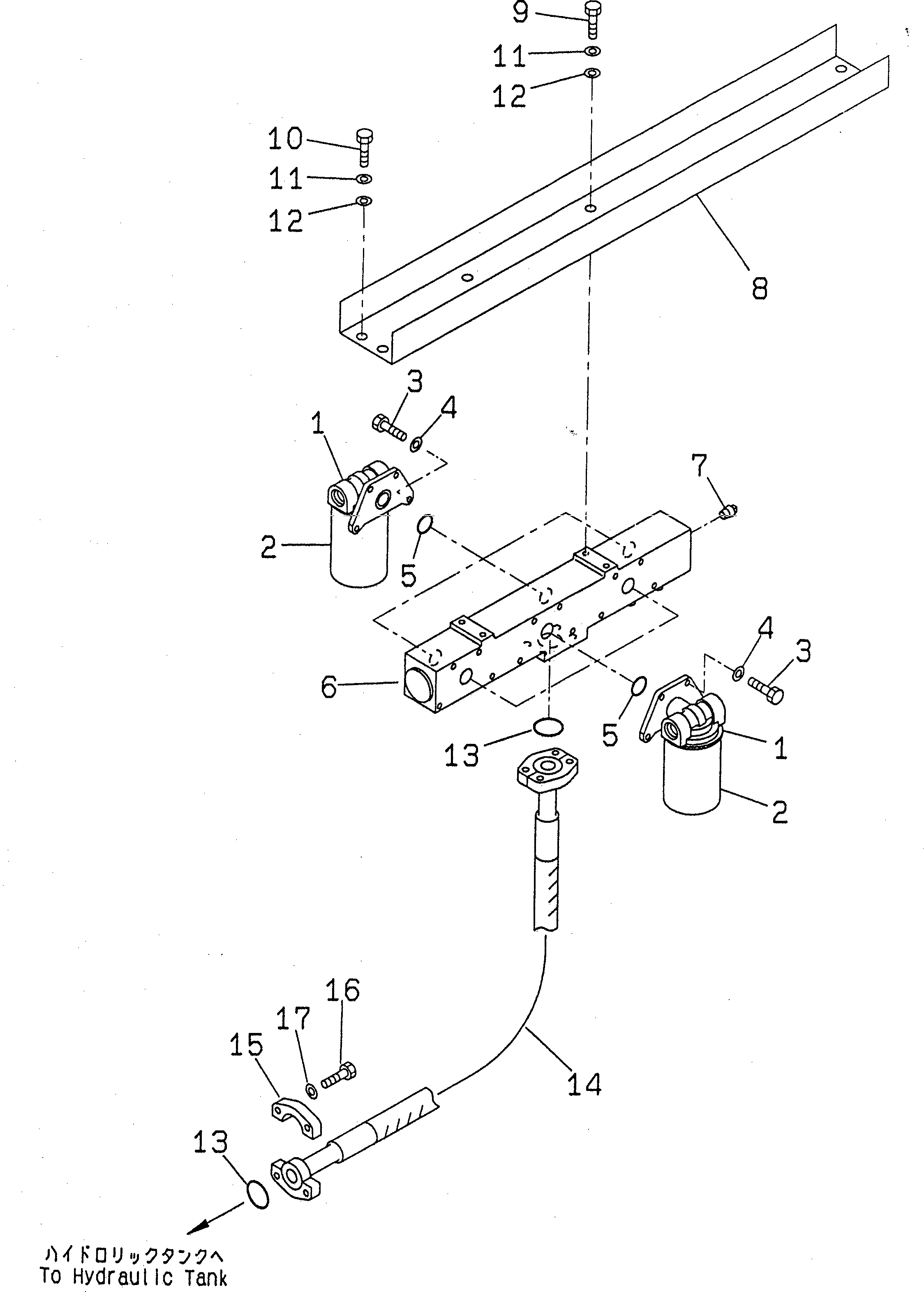
1

21T-60-71170

OIL FILTER ASS'Y

2

21T-60-71180

FILTER

3

01010-81025

BOLT

4

01643-31032

WASHER

5

07000-33028

O-RING

6

21T-62-86241

BLOCK

7

07042-20108

PLUG

8

21T-62-86251

CHANNEL

9

01010-81225

BOLT

10

01010-81230

BOLT

11

01643-31232

WASHER

12

175-54-34170

WASHER

13

07000-13048

O-RING

|13

07000-03048

O-RING

14

07296-01414

HOSE

15

07371-31465

FLANGE

16

07372-21240

BOLT

17

01643-51232

WASHER

Выбрано товаров: 18