Запчасти Komatsu PC1600SP-1 АВТОМ. ЗАМЕДЛЕНИЕ ОБОРОТОВ РАСПРЕДЕЛИТ. КЛАПАН ГИДРАВЛИКА

Схема запчастей Komatsu PC1600SP-1 - АВТОМ. ЗАМЕДЛЕНИЕ ОБОРОТОВ РАСПРЕДЕЛИТ. КЛАПАН ГИДРАВЛИКА
FIT
1:1
100%

Артикул

Название

Примечание

Количество

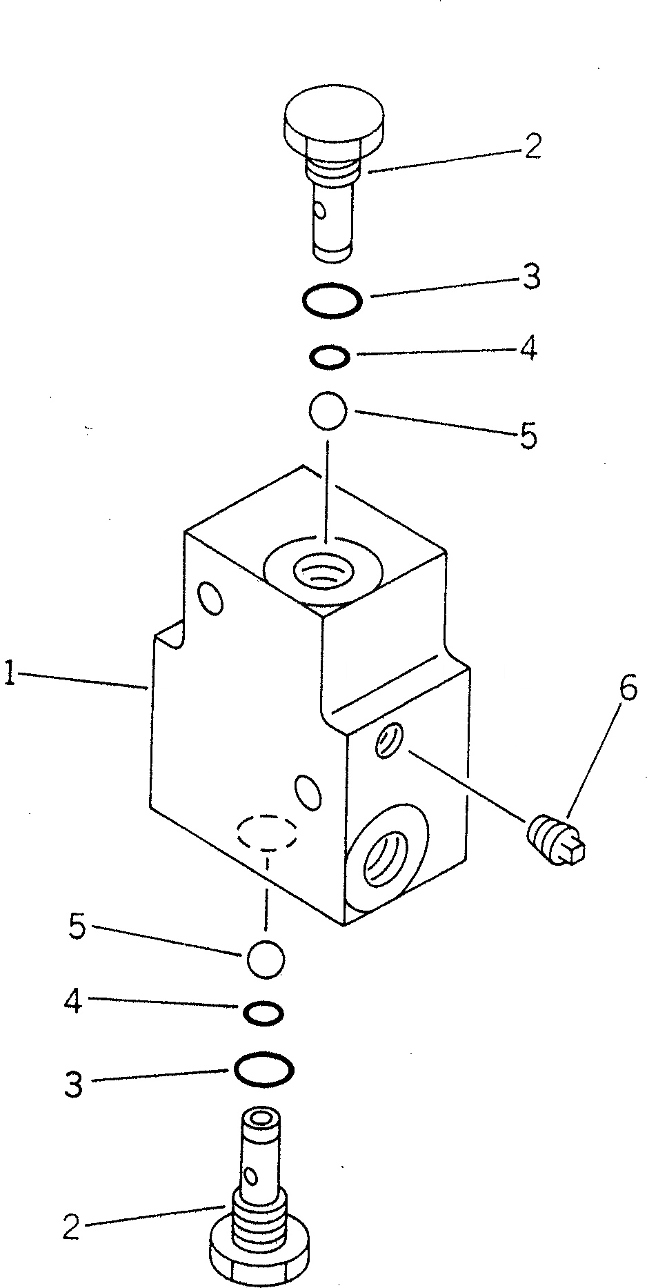
G-1

21T-43-X1000

AUTO DECELERATION G.

|1

21T-60-72600

SHUTTLE VALVE ASS'Y

1

21T-60-72610

BLOCK

2

21T-60-72620

PLUG

3

07002-01423

O-RING

4

07000-01007

O-RING

5

04260-00952

BALL

6

07042-30108

PLUG

Выбрано товаров: 8