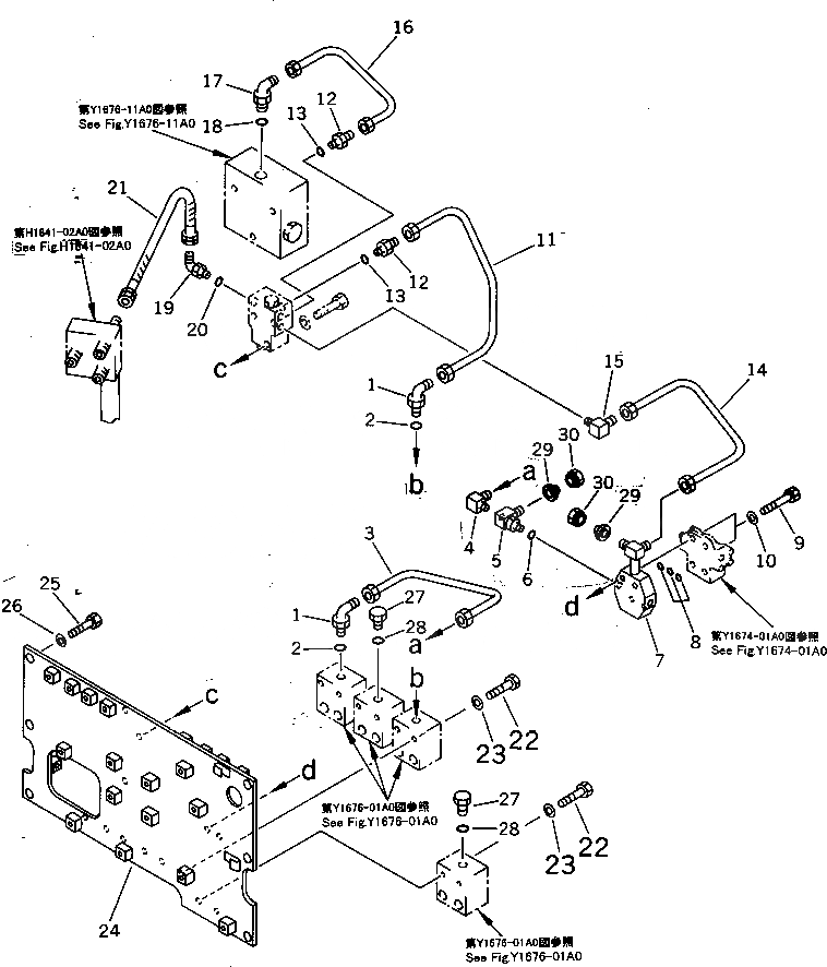
Запчасти Komatsu PC1600SP-1 ПРЯМ. ГИДРОЛИНИЯ ХОДА(/) (БЕЗ АВТОМ. ЗАМЕДЛЕНИЕ ОБОРОТОВ) (ДЛЯ ЭКСКАВАТ.) ГИДРАВЛИКА

Схема запчастей Komatsu PC1600SP-1 - ПРЯМ. ГИДРОЛИНИЯ ХОДА(/) (БЕЗ АВТОМ. ЗАМЕДЛЕНИЕ ОБОРОТОВ)     (ДЛЯ ЭКСКАВАТ.) ГИДРАВЛИКА
FIT
1:1
100%

Артикул

Название

Примечание

Количество

1

21T-62-74580

ELBOW

2

07002-02034

O-RING

3

21T-62-77860

TUBE

4

209-72-16140

ELBOW

5

21T-62-77980

ELBOW

6

07002-01423

O-RING

7

706-73-77951

TUBE

8

07000-12010

O-RING

|8

07000-02010

O-RING

9

01010-80855

BOLT

|9

01010-50855

BOLT

10

01643-30823

WASHER

11

21T-62-77920

TUBE

12

21T-62-77970

NIPPLE

13

07002-01423

O-RING

14

21T-62-77910

TUBE

15

209-72-16140

ELBOW

16

21T-62-77850

TUBE

17

21T-62-74580

ELBOW

18

07002-02034

O-RING

19

07235-10210

ELBOW

20

07002-01423

O-RING

21

07102-20204

HOSE

22

01010-81075

BOLT

23

01643-31032

WASHER

24

21T-62-77721

BRACKET

25

01010-81230

BOLT

|25

01010-51230

BOLT

26

01643-31232

WASHER

27

07040-12012

PLUG

28

07002-02034

O-RING

29

21T-62-87960

PLUG

30

07201-01020

NUT

Выбрано товаров: 33