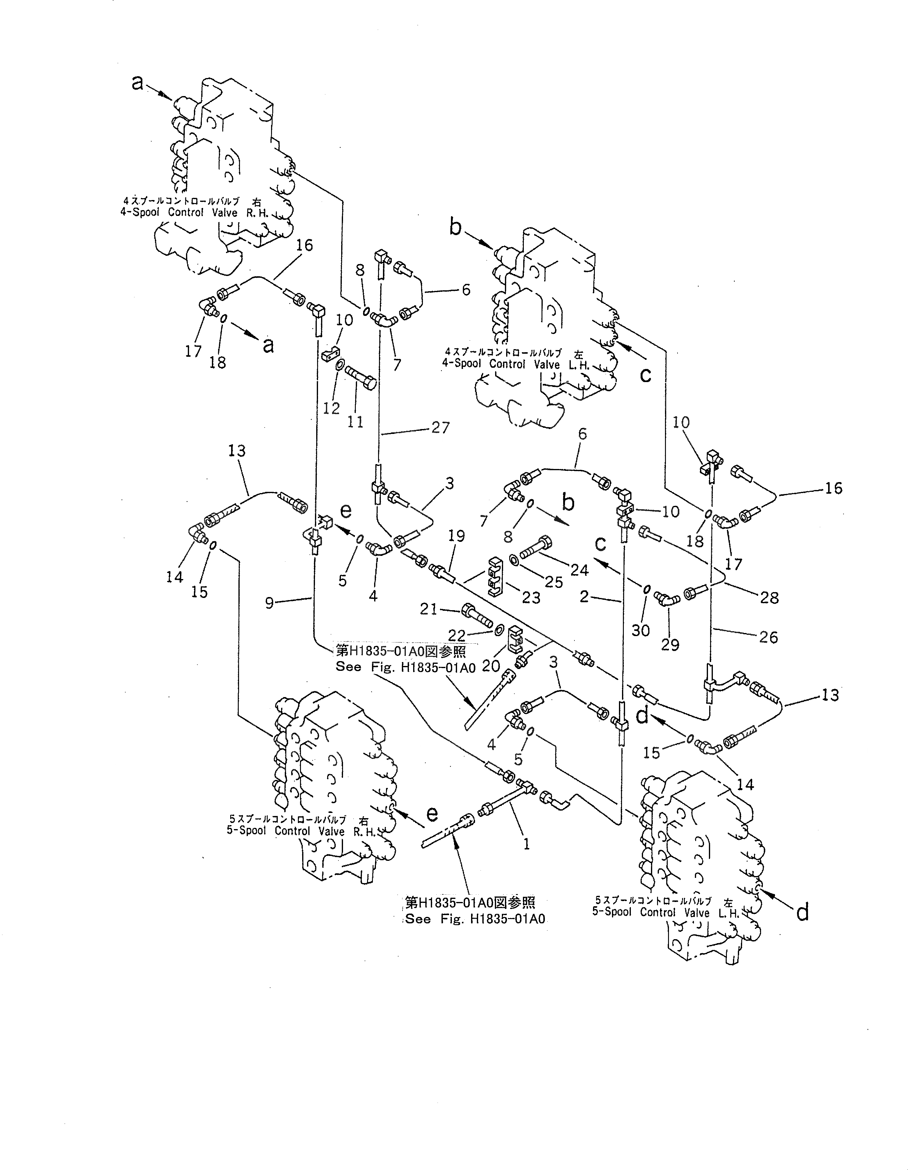
Запчасти Komatsu PC1600SP-1 УПРАВЛЯЮЩ. КЛАПАН ТРУБЫ (РУКОЯТЬ) ГИДРАВЛИКА

Схема запчастей Komatsu PC1600SP-1 - УПРАВЛЯЮЩ. КЛАПАН ТРУБЫ (РУКОЯТЬ) ГИДРАВЛИКА
FIT
1:1
100%

Артикул

Название

Примечание

Количество

1

21T-62-75530

TUBE

2

21T-62-75641

TUBE

3

21T-62-74660

TUBE

4

21T-62-74580

ELBOW

5

07002-02034

O-RING

6

21T-62-76710

TUBE

7

21T-62-74580

ELBOW

8

07002-02034

O-RING

9

21T-62-75740

TUBE

10

21T-62-74870

CLAMP

11

01010-81040

BOLT

|11

01010-51040

BOLT

12

01643-31032

WASHER

13

07102-20304

HOSE

14

07235-10315

ELBOW

15

07002-02034

O-RING

16

21T-62-74660

TUBE

17

21T-62-74580

ELBOW

18

07002-02034

O-RING

19

21T-62-75520

TUBE

20

21T-62-74880

CLAMP

21

01010-81040

BOLT

|21

01010-51040

BOLT

22

01643-31032

WASHER

23

21T-62-74910

CLAMP

24

01010-81040

BOLT

|24

01010-51040

BOLT

25

01643-31032

WASHER

26

21T-62-75650

TUBE

27

21T-62-75750

TUBE

28

21T-62-76740

TUBE

29

21T-62-74580

ELBOW

30

07002-02034

O-RING

Выбрано товаров: 33